h1_key

TI(德州仪器) TLC2543
德州仪器 (TI) 全系列产品在线购买
  • TI(德州仪器) TLC2543
  • TI(德州仪器) TLC2543
  • TI(德州仪器) TLC2543
  • TI(德州仪器) TLC2543
  • TI(德州仪器) TLC2543
  • TI(德州仪器) TLC2543
立即查看
您当前的位置: 首页 > 数据转换器 > 模数转换器 (ADC) > 精密 ADC > TLC2543
TLC2543

TLC2543

正在供货

具有串行控制和 11 路模拟输入的 12 位模数转换器 (ADC)

产品详情
  • 说明
  • 特性
  • 参数
  • 封装 | 引脚 | 尺寸

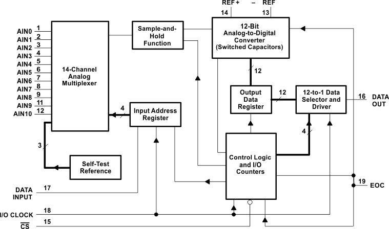
The TLC2543C and TLC2543I are 12-bit, switched-capacitor, successive-approximation, analog-to-digital converters. Each device, with three control inputs [chip select (CS), the input-output clock, and the address input (DATA INPUT)], is designed for communication with the serial port of a host processor or peripheral through a serial 3-state output. The device allows high-speed data transfers from the host.

In addition to the high-speed converter and versatile control capability, the device has an on-chip 14-channel multiplexer that can select any one of 11 inputs or any one of three internal self-test voltages. The sample-and-hold function is automatic. At the end of conversion, the end-of-conversion (EOC) output goes high to indicate that conversion is complete. The converter incorporated in the device features differential high-impedance reference inputs that facilitate ratiometric conversion, scaling, and isolation of analog circuitry from logic and supply noise. A switched-capacitor design allows low-error conversion over the full operating temperature range.

The TLC2543C is characterized for operation from TA = 0°C to 70°C. The TLC2543I is characterized for operation from TA = –40°C to 85°C. The TLC2543M is characterized for operation from TA = –55°C to 125°C.

  • 12-Bit-Resolution A/D Converter
  • 10-us Conversion Time Over Operating Temperature
  • 11 Analog Input Channels
  • 3 Built-In Self-Test Modes
  • Inherent Sample-and-Hold Function
  • Linearity Error . . . ±1 LSB Max
  • On-Chip System Clock
  • End-of-Conversion Output
  • Unipolar or Bipolar Output Operation (Signed Binary With Respect to 1/2 the Applied Voltage Reference)
  • Programmable MSB or LSB First
  • Programmable Power Down
  • Programmable Output Data Length
  • CMOS Technology
  • Application Report Available

Microcontroller Based Data Acquisition Using the TLC2543 12-bit Serial-Out ADC (SLAA012)

Resolution (Bits)12
Sample rate (max) (ksps)66
Number of input channels11
Interface typeSPI
ArchitectureSAR
Input typeSingle-ended
Multichannel configurationMultiplexed
RatingCatalog
Reference modeExternal
Input voltage range (max) (V)5.5
Input voltage range (min) (V)0
Operating temperature range (°C)-40 to 85
Power consumption (typ) (mW)5
Analog supply (min) (V)4.5
Analog supply voltage (max) (V)5.5
Digital supply (min) (V)4.5
Digital supply (max) (V)5.5
PDIP (N)20228.702 mm² 24.33 x 9.4
PLCC (FN)2098.01 mm² 9.9 x 9.9
SOIC (DW)20131.84 mm² 12.8 x 10.3
SSOP (DB)2056.16 mm² 7.2 x 7.8
产品购买
  • 商品型号
  • 封装
  • 工作温度
  • 包装
  • 价格
  • 现货库存
  • 操作
10s
温馨提示:
订单商品问题请移至我的售后服务提交售后申请,其他需投诉问题可移至我的投诉提交,我们将在第一时间给您答复
返回顶部