h1_key

TI(德州仪器) TSER953
德州仪器 (TI) 全系列产品在线购买
  • TI(德州仪器) TSER953
  • TI(德州仪器) TSER953
  • TI(德州仪器) TSER953
  • TI(德州仪器) TSER953
  • TI(德州仪器) TSER953
  • TI(德州仪器) TSER953
立即查看
您当前的位置: 首页 > 接口 > 高速串行器/解串器 > V3Link 串行器/解串器 > TSER953
TSER953

TSER953

正在供货

适用于高速传感器的 4.16Gbps MIPI® CSI-2 V³Link 串行器

产品详情
  • 说明
  • 特性
  • 参数
  • 封装 | 引脚 | 尺寸

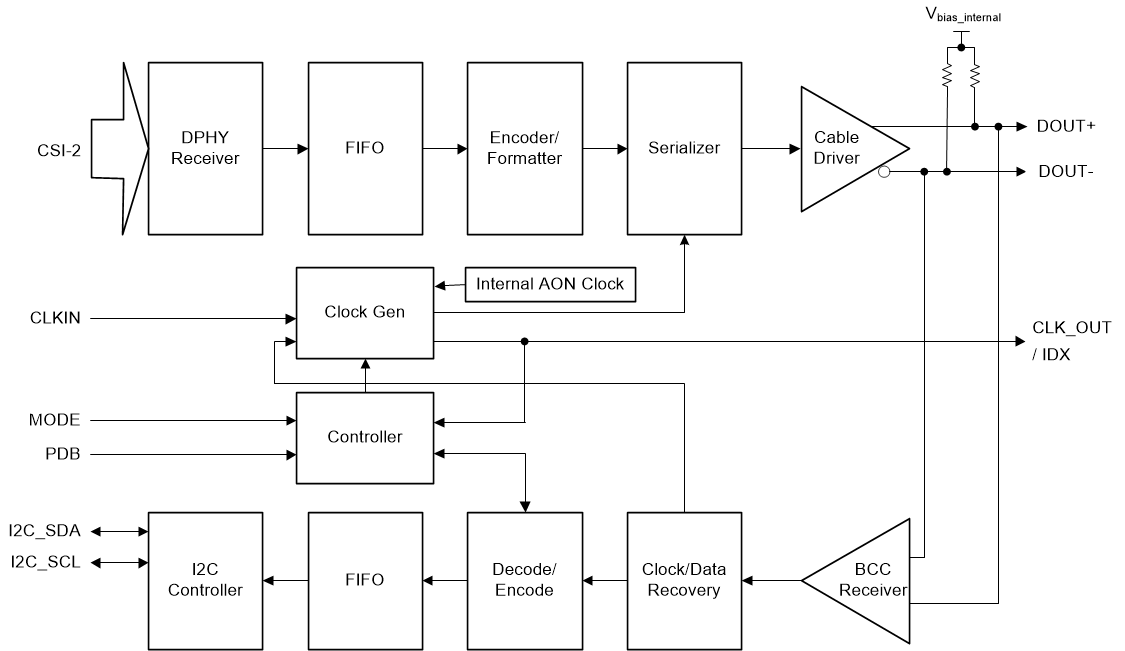
TSER953 串行器是 TI V 3Link 器件系列的一部分,旨在支持高速原始数据传感器,包括 60fps 的 2.3MP 成像器以及 4MP 30fps 摄像头、卫星雷达、激光雷达和飞行时间 (ToF) 传感器。该器件提供 4.16Gbps 正向通道和超低延迟的 50Mbps 双向控制通道,并支持单根同轴 (PoC) 或 STP 电缆进行供电。 TSER953 具有高级数据保护和诊断功能,可支持机器人和自动化、医疗成像以及安全或监控等各种应用的高速数据传输,同时简化工业和医疗摄像头应用的设计。 TSER953 与配套的解串器一起提供精确的多摄像头传感器时钟和传感器同步。

该串行器采用 5mm × 5mm 的小型 VQFN 封装,非常适合空间受限型传感器应用。

  • 4.16Gbps 等级串行器支持高速传感器,包括全高清 1080p 2.3MP 60fps 和 4MP 30fps 成像器
  • 低功耗(0.28W 典型值)
  • 符合 IEC 61000-4-2 ESD 标准
  • 同轴电缆供电 (PoC) 兼容收发器
  • 符合 D-PHY v1.2 和 CSI-2 v1.3 标准的系统接口
    • 多达 4 条数据通道,每通道速率为 832Mbps
    • 支持多达四个虚拟通道
  • 精密多摄像头时钟和同步
  • 灵活的可编程输出时钟发生器
  • 高级数据保护和诊断,包括 CRC 数据保护、传感器数据完整性检查 、I2C 写保护、电压和温度测量 、可编程警报以及线路故障检测
  • 支持单端同轴或屏蔽双绞线 (STP) 电缆
  • 超低延迟双向 I 2C 和 GPIO 控制通道支持从 ECU 进行 ISP 控制
  • 1.8V 单电源
  • 与 TDES954 和 TDES960 解串器兼容
  • 宽温度范围:–20°C 至 85°C
  • 小型 5mm × 5mm VQFN 封装和 PoC 解决方案尺寸,适合紧凑型摄像头模块设计
FunctionSerializer
Color depth (bps)24
Input compatibilityMIPI CSI-2
Pixel clock frequency (max) (MHz)100
Output compatibilityV3Link
FeaturesCRC, Flexible GPIOs, I2C Config, Pattern Generation
Signal conditioningDC Balance
EMI reductionLVDS
DiagnosticsBIST
RatingCatalog
Operating temperature range (°C)-20 to 85
VQFN (RHB)3225 mm² 5 x 5
产品购买
  • 商品型号
  • 封装
  • 工作温度
  • 包装
  • 价格
  • 现货库存
  • 操作
10s
温馨提示:
订单商品问题请移至我的售后服务提交售后申请,其他需投诉问题可移至我的投诉提交,我们将在第一时间给您答复
返回顶部