h1_key

TI(德州仪器) DS90UH949A-Q1
德州仪器 (TI) 全系列产品在线购买
  • TI(德州仪器) DS90UH949A-Q1
  • TI(德州仪器) DS90UH949A-Q1
  • TI(德州仪器) DS90UH949A-Q1
  • TI(德州仪器) DS90UH949A-Q1
  • TI(德州仪器) DS90UH949A-Q1
  • TI(德州仪器) DS90UH949A-Q1
立即查看
您当前的位置: 首页 > 接口 > 高速串行器/解串器 > FPD-Link 串行器/解串器 > DS90UH949A-Q1
DS90UH949A-Q1

DS90UH949A-Q1

正在供货

支持 HDCP 的 2K DSI 转 FPD-Link III 串行器

产品详情
  • 说明
  • 特性
  • 参数
  • 封装 | 引脚 | 尺寸

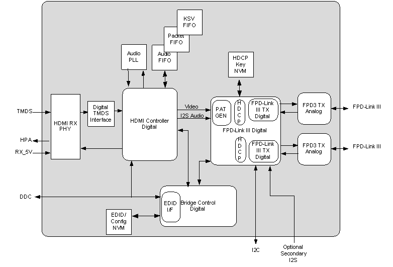
DS90UH949A-Q1 是一款 HDMI 转 FPD-Link III 桥接器件,与 FPD-Link III DS90UH940A-Q1/DS90UH948A-Q1 解串器配合使用,可通过经济高效的 50Ω 单端同轴电缆或 100Ω 差分屏蔽双绞线 (STP) 和屏蔽四路绞线 (STQ) 电缆提供单通道或双通道高速串行流。该器件可对 HDMI v1.4b 输入进行序列化,从而支持高达 2K 的视频分辨率和 24 位色深。

FPD-Link III 接口支持通过同一条差分链路进行视频和音频数据传输以及全双工控制(包括 I2C 通信)。通过两个差分对实现视频数据和控制的整合可减小互连线尺寸和重量,并简化系统设计。通过使用低压差分信令、数据换序和随机生成最大限度地减少了电磁干扰 (EMI)。在向后兼容模式中,该器件通过一条差分链路针对 94x 解串器支持高达 1080p 分辨率,针对 92x 解串器支持 720p 分辨率,并具有 24 位色深。

DS90UH949A-Q1 支持 HDCP 中继器 应用, 在这些应用中,无需外部控制器即可实现所有身份验证和加密功能。在输入端对 HDMI 音频和视频数据进行解密,并在将数据发送给 FPD-Link III 接口前重新加密。

DS90UH949A-Q1 支持通过 外部 I2S 接口接收多通道音频。该器件还具有可选的辅助音频接口。

  • 符合面向汽车应用的 AEC-Q100 标准:
    • 器件温度等级 2:-40°C 至 105°C 的环境运行温度范围
    • 器件 HBM ESD 分类等级 2
    • 器件 CDM ESD 分类等级 C5
  • 支持高达 210MHz 的 TMDS 时钟,支持 2K (2880x1080) 分辨率(24 位色深)
  • 单路和双路 FPD-Link III 输出,支持 STP 或 STQ 电缆
  • 高清多媒体 (HDMI) v1.4b 兼容输入
  • HDMI 模式 DisplayPort (DP++) 输入
  • 支持片上密钥存储的集成型 HDCP v1.4 密码引擎
  • 最多支持 8 通道的 HDMI 音频提取
  • 高速反向通道,支持速率高达 2Mbps 的 GPIO
  • 可跟踪扩频输入时钟以降低 EMI
  • 具有 1Mbps 快速模式增强版的 I2C(主/从)
  • SPI 直通接口
  • 向后兼容 DS90UH926Q-Q1 和 DS90UH928Q-Q1 FPD-Link III 解串器
FunctionSerializer
Color depth (bps)24
Input compatibilityHDMI
Output compatibilityFPD-Link III LVDS
FeaturesHDCP
Signal conditioningAdaptive Equalizer
EMI reductionSSC Compatible
DiagnosticsBIST
RatingAutomotive
Operating temperature range (°C)-40 to 105
VQFN (RGC)6481 mm² 9 x 9
产品购买
  • 商品型号
  • 封装
  • 工作温度
  • 包装
  • 价格
  • 现货库存
  • 操作

很抱歉,暂时无法提供与“DS90UH949A-Q1”系列相匹配的产品,您可以联系专属客服快速找货或在现货搜索框中重新搜索。

10s
温馨提示:
订单商品问题请移至我的售后服务提交售后申请,其他需投诉问题可移至我的投诉提交,我们将在第一时间给您答复
返回顶部