h1_key

TI(德州仪器) SN65LVDS93B
德州仪器 (TI) 全系列产品在线购买
  • TI(德州仪器) SN65LVDS93B
  • TI(德州仪器) SN65LVDS93B
  • TI(德州仪器) SN65LVDS93B
  • TI(德州仪器) SN65LVDS93B
  • TI(德州仪器) SN65LVDS93B
  • TI(德州仪器) SN65LVDS93B
立即查看
您当前的位置: 首页 > 接口 > 其他接口 > SN65LVDS93B
SN65LVDS93B

SN65LVDS93B

正在供货

10MHz - 85MHz LVDS 串行器/解串器变送器

产品详情
  • 说明
  • 特性
  • 参数
  • 封装 | 引脚 | 尺寸

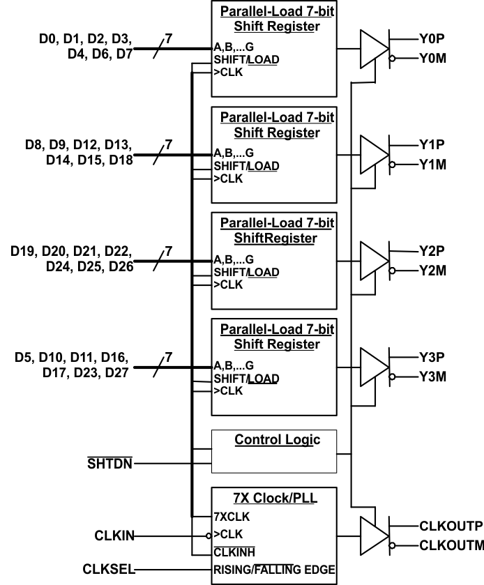
SN65LVDS93B LVDS SerDes(串行器/解串器)发送器在单个集成电路中包含 4 个 7 位并行负载串行输出移位寄存器、1 个 7 时钟合成器以及 5 个低电压差动信号 (LVDS) 驱动器。借助这些功能,可以通过 5 个平衡对导体同步传输 28 位单端 LVTTL 数据并由兼容的接收器(如 DS90CR286A 和 SN65LVDS94)进行接收。

发送数据时,数据位 D0 至 D27 会在输入时钟信号 (CLKIN) 边沿全部加载到寄存器中。可通过时钟选择 (CLKSEL) 引脚来选择时钟的上升沿或下降沿。CLKIN 的频率会实现比率为 7 的倍增,然后用于以串行方式以 7 位时间片解除数据寄存器的负载。接着会将 4 个串行数据流和锁相时钟 (CLKOUT) 输出至 LVDS 输出驱动器。CLKOUT 的频率与输入时钟 (CLKIN) 相同。

SN65LVDS93B 器件无需外部组件,只需很少控制,甚至无需控制。发送器输入端的数据总线与接收器输出端的数据总线相同,数据传输对于用户而言是透明的。用户唯一能够干预的是选择时钟上升沿(向 CLKSEL 输入高电平)或下降沿(向 CLKSEL 输入低电平),以及能够使用关断/清零 (SHTDN) 信号。SHTDN 是一个低电平有效输入,可禁用时钟并关断 LVDS 输出驱动器,从而降低功耗。如果该信号为低电平,则可以清除所有内部寄存器(处于低电平)。

SN65LVDS93B 在环境空气中的工作温度范围为 –40°C 至 85°C。

  • –40°C 至 85°C 的工业温度范围
  • LVDS 显示 Serdes 接口,可直接连接至具有集成 LVDS 的 LCD 显示面板
  • 封装选项:8.1mm × 14mm TSSOP
  • 1.8V 至 3.3V 耐压数据输入,可直接连接至低功耗、低压应用和图形处理器
  • 传输速率高达 85Mpps(百万像素/秒);像素时钟频率范围为 10MHz 至 85MHz;最高支持 2.38Gbps 的数据速率
  • 适合 HVGA 到高清 (HD) 范围内的显示分辨率,并且电磁干扰 (EMI) 较低
  • 通过 3.3V 单电源供电运行,75MHz 频率下的功耗为 170mW(典型值)
  • 28 个数据通道和时钟输入低压 TTL 至 4 个数据通道和时钟输出低压差分
  • 禁用时的功耗不到 1mW
  • 可选上升或下降时钟沿触发输入
  • ESD:5kV HBM
  • 支持扩频时钟 (SSC)
  • 支持从 RGB 888 转换至 LVDS I
ProtocolsCatalog
RatingCatalog
Operating temperature range (°C)-40 to 85
TSSOP (DGG)56113.4 mm² 14 x 8.1
产品购买
  • 商品型号
  • 封装
  • 工作温度
  • 包装
  • 价格
  • 现货库存
  • 操作
10s
温馨提示:
订单商品问题请移至我的售后服务提交售后申请,其他需投诉问题可移至我的投诉提交,我们将在第一时间给您答复
返回顶部