h1_key

TI(德州仪器) DS90UB953-Q1
德州仪器 (TI) 全系列产品在线购买
  • TI(德州仪器) DS90UB953-Q1
  • TI(德州仪器) DS90UB953-Q1
  • TI(德州仪器) DS90UB953-Q1
  • TI(德州仪器) DS90UB953-Q1
  • TI(德州仪器) DS90UB953-Q1
  • TI(德州仪器) DS90UB953-Q1
立即查看
您当前的位置: 首页 > 接口 > 高速串行器/解串器 > FPD-Link 串行器/解串器 > DS90UB953-Q1
DS90UB953-Q1

DS90UB953-Q1

正在供货

适用于 2MP/60fps 摄像机与雷达的 2MP MIPI® CSI-2 FPD-Link III 串行器

产品详情
  • 说明
  • 特性
  • 参数
  • 封装 | 引脚 | 尺寸

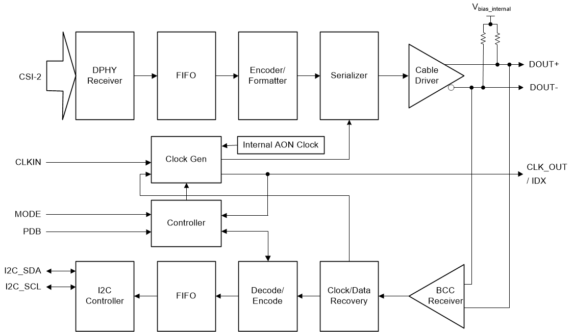
DS90UB953-Q1 串行器属于 TI FPD-Link III 器件系列,旨在支持高速原始数据传感器,包括 2.3MP/60fps 成像器以及 4MP/30fps 摄像头、卫星雷达、激光雷达和飞行时间 (ToF) 传感器。该芯片提供 4.16Gbps 正向通道和超低延迟的 50Mbps 双向控制通道,并支持单根同轴 (PoC) 或 STP 电缆进行供电。DS90UB953-Q1 具有先进的数据保护和诊断功能,可支持 ADAS 和自动驾驶。在结合配套解串器的情况下,DS90UB953-Q1 可提供精确的多摄像头传感器时钟和传感器同步。

DS90UB953-Q1 完全符合 AEC-Q100 标准,具有 -40°C 至 105°C 的宽泛温度范围。 该串行器采用 5mm × 5mm 小型 VQFN 封装,适用于空间受限型传感器应用。

  • 符合面向汽车应用的 AEC-Q100标准:
    • 器件温度 2 级:环境工作温度范围为 -40°C 至 +105°C
  • 符合 ISO 10605 和 IEC 61000-4-2 ESD 标准
  • 同轴电缆供电 (PoC) 兼容收发器
  • 4.16Gbps 等级串行器支持高速传感器, 包括全高清 1080p 2.3MP 60fps 和 4MP 30fps 成像器
  • 符合 D-PHY v1.2 和 CSI-2 v1.3 标准的系统接口
    • 多达 4 条数据通道,每通道速率为 832Mbps
    • 支持多达四个虚拟通道
  • 精密多摄像头时钟和同步
  • 灵活的可编程输出时钟发生器
  • 高级数据保护和诊断,包括 CRC 数据保护、传感器数据完整性检查 、I2C 写保护、电压和温度测量 、可编程警报以及线路故障检测
  • 支持单端同轴或屏蔽双绞线 (STP) 电缆
  • 超低延迟双向 I2C 和 GPIO 控制通道支持从 ECU 侧进行 ISP 控制
  • 1.8V 单电源
  • 低功耗( 0.28W 典型值)
  • 提供功能安全

    • 有助于进行 ISO 26262 系统设计的文档

  • 兼容 DS90UB954-Q1、DS90UB964-Q1、DS90UB962-Q1、DS90UB936-Q1、DS90UB960-Q1、DS90UB934-Q1 和 DS90UB914A-Q1 解串器
  • 宽温度范围:–40°C 至 105°C
  • 小型 5mm × 5mm VQFN 封装和 PoC 解决方案尺寸,适合紧凑型摄像头模块设计
FunctionSerializer
Color depth (bps)12
Input compatibilityMIPI CSI-2
Output compatibilityFPD-Link III LVDS
FeaturesDedicated GPIO
Signal conditioningAdaptive Equalizer
EMI reductionLVDS
DiagnosticsBIST
RatingAutomotive
Operating temperature range (°C)-40 to 105
TI functional safety categoryFunctional Safety-Capable
VQFN (RHB)3225 mm² 5 x 5
产品购买
  • 商品型号
  • 封装
  • 工作温度
  • 包装
  • 价格
  • 现货库存
  • 操作
10s
温馨提示:
订单商品问题请移至我的售后服务提交售后申请,其他需投诉问题可移至我的投诉提交,我们将在第一时间给您答复
返回顶部