h1_key

TI(德州仪器) TUSB8041A
德州仪器 (TI) 全系列产品在线购买
  • TI(德州仪器) TUSB8041A
  • TI(德州仪器) TUSB8041A
  • TI(德州仪器) TUSB8041A
  • TI(德州仪器) TUSB8041A
  • TI(德州仪器) TUSB8041A
  • TI(德州仪器) TUSB8041A
立即查看
您当前的位置: 首页 > 接口 > USB IC > USB 集线器和控制器 > TUSB8041A
TUSB8041A

TUSB8041A

正在供货

4 端口 SuperSpeed 5Gbps USB 3.1 集线器

产品详情
  • 说明
  • 特性
  • 参数
  • 封装 | 引脚 | 尺寸

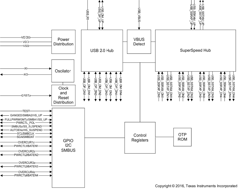
TUSB8041A 是一款四端口 USB 3.1 1 代集线器。该器件在上行端口上可提供同步超快速和高速/全速 USB 连接,在下行端口上可提供超快速、高速、全速或者低速 USB 连接。当上行端口连接到一个仅支持高速或全速/低速连接的电气环境中时,下行端口上的超快速 USB 连接将会禁用。

当上行端口连接到一个仅支持全速/低速连接的电气环境中时,下行端口上的超快速 USB 和高速连接将会禁用。

TUSB8041A 支持每端口或成组电源开关和过流保护,并且还支持电池充电 应用。

按照 USB 主机的要求,一个端口电源单独控制集线器开关为每个下行端口加电或者断电。同样地,当一个端口电源单独控制集线器感测到一个过流事件时,它只关闭到受影响的下行端口的电源。

当需要为任一端口供电时,一个成组集线器开关打开到其所有下行端口的电源。只有当所有端口处于电源可被移除的状态时,到下行端口的电源才可被关闭。同样地,当一个成组集线器感测到一个过流事件时,到所有下行端口的电源将被关闭。

TUSB8041A 下行端口可提供电池充电下行端口 (CDP) 握手支持,以此为电池充电 应用 提供支持。在未连接上行端口的情况下,该器件还支持专用充电端口 (DCP) 模式。DCP 模式为支持 USB 电池充电、和符合中国电信行业标准 YD/T 1591-2009 的 USB 器件提供支持。 此外,在未连接上行端口的情况下,TUSB8041A 支持分频器充电端口模式(ACPx 模式),并且可在所有模式之间进行自动切换,切换顺序从 ACP2 模式开始,到 DCP 模式结束。

TUSB8041A 能够为包括电池充电支持在内的部分 特性 提供引脚搭接配置,还能够通过 OTP ROM、I2C EEPROM 或 I2C/SMBus 从机接口为 PID、VID、自定义端口和物理层配置提供定制支持。使用 I2C EEPROM 或 I2C/SMBus 从机接口时,还可以提供定制字串支持。

该器件采用 64 引脚 RGC 封装,商用版 的工作温度范围为 0°C 至 70°C。

  • 四端口 USB 3.1 1 代集线器
  • USB 2.0 集线器 特性
    • 多事务转换器 (MTT) 集线器:四个事务转换器
    • 每个事务转换器具有两个异步端点缓冲器
  • 支持电池充电:
    • 在未连接或未配置上行端口的情况下,可支持 D+/D- 分频器充电端口(ACP1、ACP2)
    • 在未连接上行端口的情况下,可支持自动模式以在 DCP 或 ACP 模式之间进行切换
    • 充电下行端口 (CDP) 模式(上行端口已连接)
    • 专用充电端口 (DCP) 模式(上行端口未连接)
    • DCP 模式符合中国电信行业标准 YD/T 1591-2009
  • 支持用作 USB 3.1 1 代或者 USB 2.0 复合器件
  • 支持每端口或成组电源开关以及过流通知输入
  • 支持四个外部下行端口
  • 支持读取和写入 I2C 的供应商请求,并且在 100k
  • I2C 主机支持时钟拉伸
  • 可使用一次性可编程 (OTP) ROM、串行 EEPROM 或 I2C/SMBus 受控接口进行自定义配置:
    • VID 和 PID
    • 端口定制
    • 生产商和产品字串(OTP ROM 不支持)
    • 序列号(OTP ROM 不支持)
  • 可使用引脚选择、EEPROM 或 I2C/SMBus 从机接口选择应用特性
  • 提供 128 位通用唯一标识符 (UUID)
  • 单时钟输入,24MHz 晶振或者振荡器
  • 下行端口仅可对 USB 2.0 进行配置
  • 64 引脚 QFN 封装 (RGC)
FunctionUSB3
USB speed (MBits)5000
TypeHub
Supply voltage (V)1.1, 3.3
RatingCatalog
Operating temperature range (°C)0 to 70
VQFN (RGC)6481 mm² 9 x 9
产品购买
  • 商品型号
  • 封装
  • 工作温度
  • 包装
  • 价格
  • 现货库存
  • 操作
10s
温馨提示:
订单商品问题请移至我的售后服务提交售后申请,其他需投诉问题可移至我的投诉提交,我们将在第一时间给您答复
返回顶部