h1_key

TI(德州仪器) TPD2S701-Q1
德州仪器 (TI) 全系列产品在线购买
  • TI(德州仪器) TPD2S701-Q1
  • TI(德州仪器) TPD2S701-Q1
  • TI(德州仪器) TPD2S701-Q1
  • TI(德州仪器) TPD2S701-Q1
  • TI(德州仪器) TPD2S701-Q1
  • TI(德州仪器) TPD2S701-Q1
立即查看
您当前的位置: 首页 > 接口 > 应用特定端口保护 IC > TPD2S701-Q1
TPD2S701-Q1

TPD2S701-Q1

正在供货

汽车类 USB D+/D- VBUS 短路和 IEC ESD 保护

产品详情
  • 说明
  • 特性
  • 参数
  • 封装 | 引脚 | 尺寸

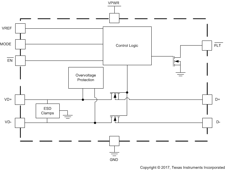
TPD2S701-Q1 是一款用于汽车高速接口(如 USB 2.0)的双通道线路 VBUS 短路和 IEC61000-4-2 ESD 保护器件。TPD2S701-Q1 包含两个数据线路 nFET 开关。这些开关通过提供业界一流的带宽,实现最小的信号衰减,同时可保护内部系统电路(在 VD+ 和 VD– 引脚上),使其免受过压情况的损坏,从而确保安全的数据通信。

在这些引脚上,此器件可实现直流电高达 7V 的过压保护。这为 USB VBUS 轨的数据线路短路提供了充分保护。该过压保护电路提供业界最可靠的 VBUS 短路隔离,能在 200ns 内关闭数据开关,并保护上游电路免受有害电压和电流尖峰影响。

此外,TPD2S701-Q1 只需要 5V 的单一电源,这优化了电源树的大小和成本。该器件允许通过电阻分压器网络调整 OVP 阈值和钳位电路,为优化系统保护提供了一种简单且经济高效的方法(适用于任何收发器)。TPD2S701-Q1 还包括一个 FLT 引脚,该引脚会在器件出现过压状况时发出指示,并在过压状况消除后自动复位。

TPD2S701-Q1 还在 VD+ 和 VD– 引脚上集成了系统级别的 IEC 61000-4-2 和 ISO 10605 ESD 钳位,因此在应用中无需再配置高压、低电容的外部 TVS 钳位电路。

  • 符合 AEC-Q100 标准
    • –40°C 至 125°C 的工作温度范围
  • VD+ 和 VD– 上的 VBUS 短路保护
  • ESD 性能 VD+,VD–
    • ±8kV 接触放电(IEC 61000-4-2 和 ISO 10605 330pF,330Ω)
    • ±15kV 气隙放电(IEC 61000-4-2 和 ISO 10605 330pF,330Ω)
  • 高速数据开关(1GHz 带宽)
  • 只需要 5V 电源
  • 可调节 OVP 阈值
  • 快速过压响应时间(典型值 200ns)
  • 热关断特性
  • 集成输入使能和故障输出信号
  • 保证数据完整性的直通路由
    • 10 引脚 VSSOP 封装 (3mm × 3mm)
    • 10 引脚 QFN 封装 (2.5mm × 2.5mm)
Number of switches2
IEC 61000-4-2 contact (±V)8000
IEC 61000-4-2 air-gap (±V)15000
FeaturesOvervoltage protection
Bi-/uni-directionalUnidirectional
RatingAutomotive
Operating temperature range (°C)-40 to 125
Interface typeLVDS, USB 2.0, USB 3.0
VSSOP (DGS)1014.7 mm² 3 x 4.9
WSON (DSK)106.25 mm² 2.5 x 2.5
产品购买
  • 商品型号
  • 封装
  • 工作温度
  • 包装
  • 价格
  • 现货库存
  • 操作
10s
温馨提示:
订单商品问题请移至我的售后服务提交售后申请,其他需投诉问题可移至我的投诉提交,我们将在第一时间给您答复
返回顶部