h1_key

TI(德州仪器) TPD2S703-Q1
德州仪器 (TI) 全系列产品在线购买
  • TI(德州仪器) TPD2S703-Q1
  • TI(德州仪器) TPD2S703-Q1
  • TI(德州仪器) TPD2S703-Q1
  • TI(德州仪器) TPD2S703-Q1
  • TI(德州仪器) TPD2S703-Q1
  • TI(德州仪器) TPD2S703-Q1
立即查看
您当前的位置: 首页 > 接口 > 应用特定端口保护 IC > TPD2S703-Q1
TPD2S703-Q1

TPD2S703-Q1

正在供货

汽车类 USB D+/D- 电池短路和 IEC ESD 保护

产品详情
  • 说明
  • 特性
  • 参数
  • 封装 | 引脚 | 尺寸

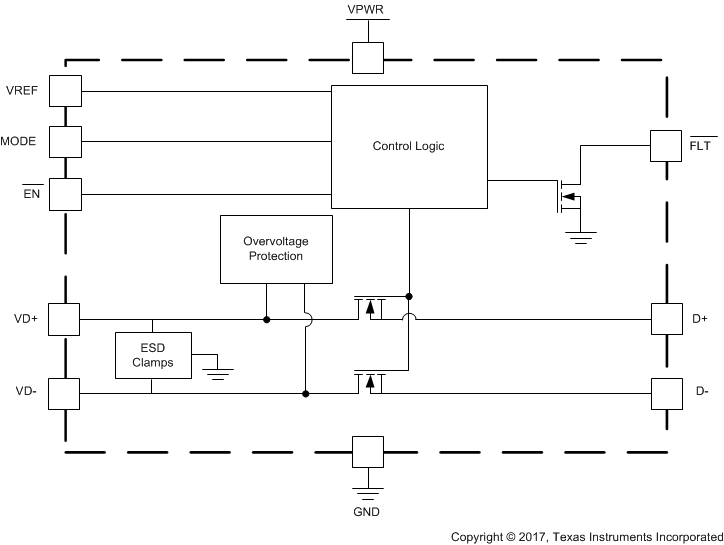
TPD2S703-Q1 是一款用于汽车高速接口(如 USB 2.0)的双通道线路电池短路、VBUS 短路保护和 IEC61000-4-2 ESD 保护器件。TPD2S703-Q1 包含两个数据线路 nFET 开关。这些开关通过提供业界一流的带宽,实现最小的信号衰减,同时可保护内部系统电路的 VD+ 和 VD– 引脚免受过压情况的损坏,从而确保安全的数据通信。在这些引脚上,此器件可实现高达 18V 的直流电过压保护。这为汽车电池及 USB VBUS 电压轨的数据线路短路提供了充分保护。过压保护电路可提供业内一流的电池短路保护,能在 200ns 内关断数据开关,以保护上游电路免受有害电压和电流尖峰的影响。

此外,为优化电源树的大小和成本,TPD2S703-Q1 只需要一个 5V 单电源供电。该器件允许通过电阻分压器网络调整 OVP 阈值和钳位电路,从而为任何收发器的系统保护优化提供一种简单且具有成本效益的方法。TPD2S703-Q1 还包括一个 FLT 引脚,该引脚会在器件出现过压状况时发出指示,并在过压状况消除后自动复位。

TPD2S703-Q1 还在 VD+ 和 VD– 引脚上集成了系统级别的 IEC 61000-4-2 和 ISO 10605 ESD 钳位,因此无需再在应用中配置高压、低电容的外部 TVS 钳位电路。

  • 符合 AEC-Q100 标准
    • 工作温度范围:–40°C 至 +125°C
  • VD+、VD– 上的电池短路(高达 18V)和 VBUS 短路保护
  • ESD 性能 VD+,VD–
    • ±8kV 接触放电(IEC 61000-4-2 和 ISO 10605 330pF,330Ω)
    • ±15kV 气隙放电(IEC 61000-4-2 和 ISO 10605 330pF,330Ω)
  • 高速数据开关(1GHz 带宽)
  • 只需要 5V 电源电压
  • 可调节 OVP 阈值
  • 快速过压响应时间(典型值 200ns)
  • 热关断特性
  • 集成输入使能和故障输出信号
  • 直通路由可保证数据完整性
    • 10 引脚 VSSOP 封装 (3mm × 3mm)
    • 10 引脚 WSON 封装 (2.5mm × 2.5mm)
Number of switches2
IEC 61000-4-2 contact (±V)8000
IEC 61000-4-2 air-gap (±V)15000
FeaturesShort-to-battery protection
Bi-/uni-directionalUnidirectional
RatingAutomotive
Operating temperature range (°C)-40 to 125
Interface typeLVDS, USB 2.0, USB 3.0
VSSOP (DGS)1014.7 mm² 3 x 4.9
WSON (DSK)106.25 mm² 2.5 x 2.5
产品购买
  • 商品型号
  • 封装
  • 工作温度
  • 包装
  • 价格
  • 现货库存
  • 操作
10s
温馨提示:
订单商品问题请移至我的售后服务提交售后申请,其他需投诉问题可移至我的投诉提交,我们将在第一时间给您答复
返回顶部