h1_key

TI(德州仪器) TPD3S044
德州仪器 (TI) 全系列产品在线购买
  • TI(德州仪器) TPD3S044
  • TI(德州仪器) TPD3S044
  • TI(德州仪器) TPD3S044
  • TI(德州仪器) TPD3S044
  • TI(德州仪器) TPD3S044
  • TI(德州仪器) TPD3S044
立即查看
您当前的位置: 首页 > 接口 > 应用特定端口保护 IC > TPD3S044
TPD3S044

TPD3S044

正在供货

适用于 USB 主机的限流开关和 D+/D- ESD 保护器件

产品详情
  • 说明
  • 特性
  • 参数
  • 封装 | 引脚 | 尺寸

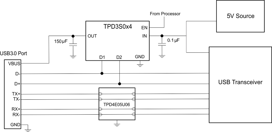
TPD3S0x4 集成器件配有一个限流负载开关和一个基于双通道瞬态电压抑制器 (TVS) 的静电放电 (ESD) 保护二极管阵列,适用于 USB 接口。

TPD3S0x4 器件适用于可能出现大电容负载和短路的应用(如 USB 接口);TPD3S0x4 可提供短路保护和过流保护。 当输出负载超过电流限制阈值时,TPD3S0x4 通过在恒定电流模式下运行即可将输出电流限制到安全水平。 快速过载响应特性有助于减轻 5V 主电源的负担,当输出短路时可以快速调节电源。 电流限制开关的上升和下降此时受到控制,力求尽量减小器件开关过程中的浪涌电流。

TPD3S014 和 TPD3S044 的连续电流分别为 0.5A 和 1.5A。 TVS 二极管阵列的额定 ESD 冲击消散值高于 IEC 61000-4-2 国际标准中规定的最高水平。 此器件高度集成,并且采用易于布线的 DBV 封装,可对便携式计算机、高清数字 TV 和机顶盒等应用中的 USB 接口提供强力的电路保护。

  • 连续额定电流为 0.5A 和 1.5A
  • 恒定电流限制固定为 0.85A 和
    2.15A(典型值)
  • 快速过流响应 – 2μs
  • 集成输出放电
  • 反向电流阻断
  • 短路保护功能
  • 过热保护,支持自动重启
  • 内置软启动
  • 环境温度范围:-40°C 至 85°C
  • 产品遵从规范
    • UL 认证元件(UL 2367,固态过流保护器标准)
    • CB 文件号 E169910 至 IEC 60950-1,信息技术设备
  • IEC 61000-4-2 4 级静电放电 (ESD) 保护(外部引脚)
    • ±12kV 接触放电 (IEC 61000-4-2)
    • ±15kV 空气间隙放电 (IEC 61000-4-2)

应用

  • USB 端口/集线器
  • 便携式计算机,台式机
  • 高清数字电视
  • 机顶盒

Number of switches1
IO capacitance (typ) (pF)1.4
IEC 61000-4-2 contact (±V)8000
IEC 61000-4-2 air-gap (±V)15000
FeaturesCurrent limit
Bi-/uni-directionalUnidirectional
RatingCatalog
Operating temperature range (°C)-40 to 85
Dynamic resistance (typ)0.2
Clamping voltage (V)10
Interface typeUSB 2.0, USB 3.0
SOT-23 (DBV)68.12 mm² 2.9 x 2.8
产品购买
  • 商品型号
  • 封装
  • 工作温度
  • 包装
  • 价格
  • 现货库存
  • 操作
10s
温馨提示:
订单商品问题请移至我的售后服务提交售后申请,其他需投诉问题可移至我的投诉提交,我们将在第一时间给您答复
返回顶部