h1_key

TI(德州仪器) TCA5013
德州仪器 (TI) 全系列产品在线购买
  • TI(德州仪器) TCA5013
  • TI(德州仪器) TCA5013
  • TI(德州仪器) TCA5013
  • TI(德州仪器) TCA5013
  • TI(德州仪器) TCA5013
  • TI(德州仪器) TCA5013
立即查看
您当前的位置: 首页 > 接口 > I2C IC > I2C 电平转换器、缓冲器和集线器 > TCA5013
TCA5013

TCA5013

正在供货

智能卡接口 IC,可支持 1 张用户卡和 3 张 SAM

产品详情
  • 说明
  • 特性
  • 参数
  • 封装 | 引脚 | 尺寸

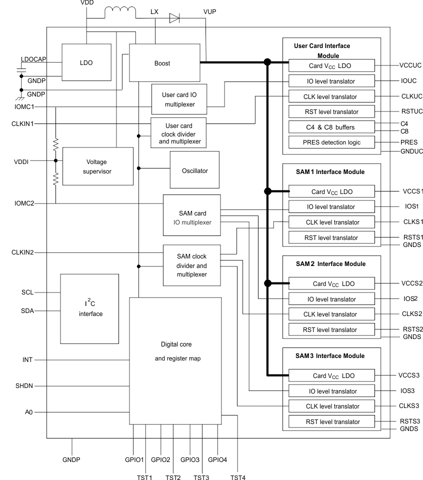
TCA5013 是专门用于销售点 (POS) 终端的智能卡接口 IC。此器件可实现 POS 终端与 EMV4.3、ISO7816-3 和 ISO7816-10 标准兼容卡的连接。除 1 张用户卡之外,它最多还支持 3 张安全访问模块 (SAM) 卡。器件由单电源供电并为所有卡提供电压。器件由标准 I2C 接口控制并且能够按照 EMV4.3 和 ISO7816-3 标准激活和取消激活卡。此外,该器件还支持 ISO7816-10 同步卡。其所具有的 4 字节 FIFO 能够存储 ISO7816-10 类型 1 卡中的 ATR(复位应答)序列。可将同步卡(ISO7816-10 类型 1 和类型 2)设置为自动激活或手动激活。该器件具有多种节能模式,还支持通过“时钟停止”程序或根据 ISO7816 - 3 标准将时钟频率降至最低许可等级来实现智能卡自身的节能功能。TCA5013 中连接智能卡的所有引脚都具有 IEC 61000-4-2 8kV 接触放电保护。这使得系统无需借助外部 ESD 器件即能够抵抗磁场中的 ESD。它采用 5mm x 5mm 球状引脚栅格阵列 (BGA) 封装。器件的引脚分配使所有 IO 引脚均由其它引脚安全包围。这样可防止在器件工作期间探测安全引脚。

  • 运行电源电压范围为 2.7V 至 5.5V
  • 支持 EMV 4.3、ISO7816-3 和 ISO7816-10 标准
  • 支持 1 张用户卡和 3 张安全访问模块卡
  • 所有智能卡接口引脚上均具有 IEC61000-4-2 8kV 接触放电 ESD 保护
  • 低功耗模式可在不使用时(关断模式下)节能
  • 可在出现短路、卡片拔出、过热或电源故障时自动使卡取消激活
  • 集成式直流/直流升压转换器可在所有卡接口上生成 5V 和 3V 的 VCC
  • 自动生成卡时钟以同步卡激活
  • 通过 4 字节 FIFO 存储 ISO7816-10 类型 1 卡的 ATR
  • 所有智能卡的 IO 和时钟线均可编程设定上升/下降时间控制
  • 输入时钟频率高达 26MHz
  • 防篡改封装设计
FeaturesSmart Card
Frequency (max) (MHz)2.6
VCCA (min) (V)0
VCCA (max) (V)0
VCCB (min) (V)0
VCCB (max) (V)0
Supply restrictionsNo rule
RatingCatalog
Operating temperature range (°C)-40 to 85
NFBGA (ZAH)4825 mm² 5 x 5
产品购买
  • 商品型号
  • 封装
  • 工作温度
  • 包装
  • 价格
  • 现货库存
  • 操作
10s
温馨提示:
订单商品问题请移至我的售后服务提交售后申请,其他需投诉问题可移至我的投诉提交,我们将在第一时间给您答复
返回顶部