h1_key

TI(德州仪器) TCA9543A
德州仪器 (TI) 全系列产品在线购买
  • TI(德州仪器) TCA9543A
  • TI(德州仪器) TCA9543A
  • TI(德州仪器) TCA9543A
  • TI(德州仪器) TCA9543A
  • TI(德州仪器) TCA9543A
  • TI(德州仪器) TCA9543A
立即查看
您当前的位置: 首页 > 接口 > I2C IC > I2C 开关和多路复用器 > TCA9543A
TCA9543A

TCA9543A

正在供货

具有中断、复位和电压转换功能的 2 通道、1.65V 至 5.5V I2C/SMBus 开关

产品详情
  • 说明
  • 特性
  • 参数
  • 封装 | 引脚 | 尺寸

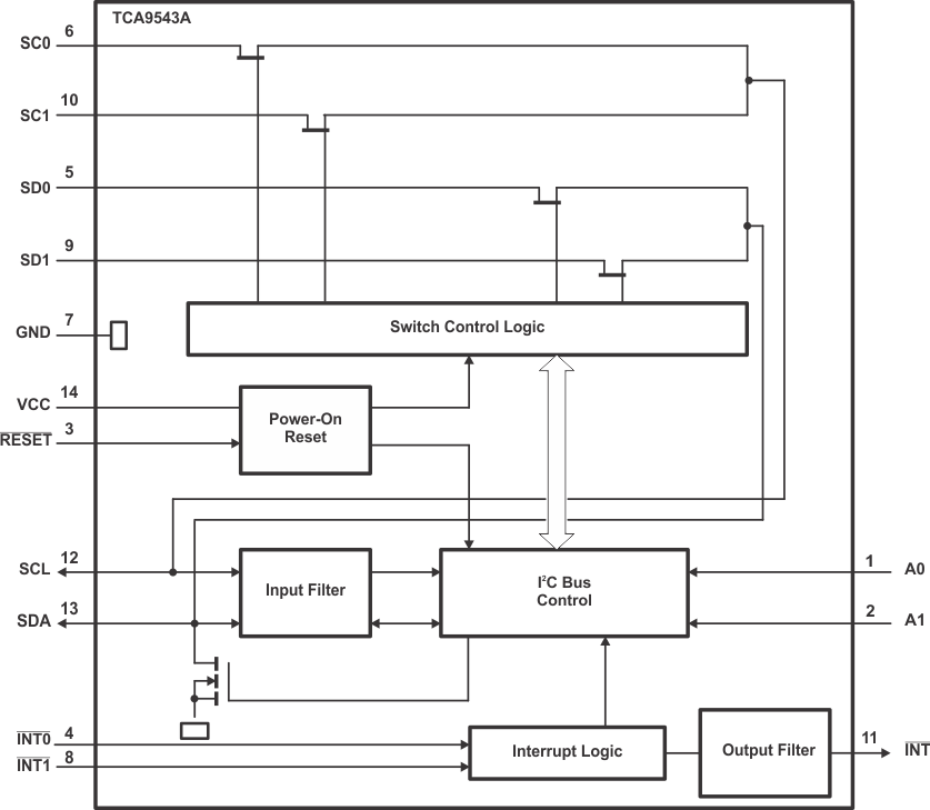
TCA9543A 是一款由 I2C 总线控制的双路双向转换开关。串行时钟/串行数据 (SCL/SDA) 上行对扩展到 2 个下行对,或者通道。根据可编程控制寄存器的内容,可选择任一单独的 SCn/SDn 通道或者这两个通道。提供两个中断输入 (INT1-INT0),每个中断输入针对一个下行对。一个中断输出 (INT) 可作为两个中断输入的与 (AND) 操作。

一个低电平有效复位 (RESET) 输入使得 TCA9543A 能够在其中一个下行 I2C 总线长时间处于低电平的情况下恢复。将 RESET 下拉为低电平会使 I2C 状态机复位,并且使这两个通道取消选中,这一功能与内部加电复位功能的作用一样。

在开关上建有导通栅极,这样的话,VCC 引脚可被用于限制将由 TCA9543A 传递的最大高压。这允许在每个对上使用不同的总线电压,以便 1.8V,2.5V 或 3.3V 部件可以在没有任何额外保护的情况下与 5V 部件通信。对于每个通道,外部上拉电阻器将总线电压上拉至所需的电压水平。所有 I/O 引脚可耐受 5.5V 电压。

  • 2 选 1 双向转换开关
  • 与 I2C 总线和系统管理总线 (SMBus) 兼容
  • 两个低电平有效中断输入
  • 低电平有效中断输出
  • 低电平有效复位输入
  • 两个地址引脚,允许在 I2C 总线上支持多达四个 TCA9543A 器件
  • 通过 I2C 总线进行通道选择,可任意组合
  • 上电时所有开关通道取消选定
  • 低 RON 开关
  • 支持在 1.8V、2.5V、3.3V 和 5V 总线间
    进行电压电平转换
  • 上电时无干扰
  • 支持热插入
  • 低待机电流
  • 工作电源电压范围为 1.65V 至 5.5V
  • 5.5V 耐压输入
  • 0 至 400kHz 时钟频率
  • 闩锁性能超过 100mA,符合 JESD78 规范
  • ESD 保护性能超过 JESD 22 规范要求
    • 4000V 人体放电模型 (A114-A)
    • 1500V 充电器件模型 (C101)
Addresses4
Supply voltage (max) (V)5.5
Supply voltage (min) (V)1.65
FeaturesInterrupt pin, Reset pin
RatingCatalog
Frequency (max) (MHz)0.4
Operating temperature range (°C)-40 to 85
Number of channels2
SOIC (D)1451.9 mm² 8.65 x 6
TSSOP (PW)1432 mm² 5 x 6.4
产品购买
  • 商品型号
  • 封装
  • 工作温度
  • 包装
  • 价格
  • 现货库存
  • 操作
10s
温馨提示:
订单商品问题请移至我的售后服务提交售后申请,其他需投诉问题可移至我的投诉提交,我们将在第一时间给您答复
返回顶部