h1_key

TI(德州仪器) ONET1151P
德州仪器 (TI) 全系列产品在线购买
  • TI(德州仪器) ONET1151P
  • TI(德州仪器) ONET1151P
  • TI(德州仪器) ONET1151P
  • TI(德州仪器) ONET1151P
  • TI(德州仪器) ONET1151P
  • TI(德州仪器) ONET1151P
立即查看
您当前的位置: 首页 > 接口 > 光纤网络 IC > ONET1151P
ONET1151P

ONET1151P

正在供货

11.3Gbps 限幅放大器

产品详情
  • 说明
  • 特性
  • 参数
  • 封装 | 引脚 | 尺寸

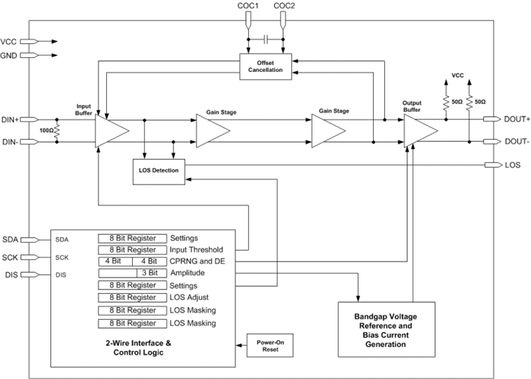
ONET1151P 是一款高速,3.3V 限幅放大器,此放大器用于数据速率高达 11.3Gbps 的多个光纤和铜质电缆应用。

此器件提供一个两线制接口来实现对输出振幅、输出去加重、输入阀值电压(限幅电平)以及信号丢失置位电平的数字控制。

ONET1151P 提供大约 33dB 的增益来确保针对低至 20mVp-p的输入信号的完全差分输出摆幅。 输出振幅可在 350mVp-p和 850mVp-p之间调节。 为了根据被连接到器件输出上的微带线或带状线的损耗来补偿频率,在输出级中包括了可编程去加重。 还提供了一个具有可编程输出屏蔽时间和输出禁用的可调信号丢失 (LOS) 检测。

此产品采用符合 RoHS 标准的小封装尺寸 3mm x 3mm 16 引脚 QFN 封装,在 550mVp-p输出时的典型功率耗散为 132mW,并且额定运行温度范围在 -40°C 和 100°C 之间。

  • 高达 11.3Gbps 运行
  • 两线制数字接口
  • 可调信号丢失 (LOS) 阀值
  • 数字可选输出电压
  • 数字可选输出去加重
  • 可调输入阀值电压
  • 输出极性选择
  • 可编程 LOS 屏蔽时间
  • 输入偏移消除
  • 具有到 VCC 的片载 50Ω 背面端接的电流模式逻辑 (CML) 数据输出
  • +3.3V 单电源
  • 低功耗
  • 输出禁用
  • 表面贴装小型封装 3mm x 3mm 16 引脚,与 RoHS 标准兼容的四方扁平无引线 (QFN) 封装
  • 与 ONET8501PB 引脚兼容

应用范围

  • 10G 以太网光发射器
  • 2x/4x/8x 和 10x 光纤通道光接收器
  • SONET OC-192/SDH-64 光接收器
  • SFP+ 和 XFP 收发器模块
  • 电缆驱动器和接收器

TypeLimiting amplifier
Data rate (max) (Mbps)11300
FeaturesDisable, LOS, OUTPOL, Output voltage select
Supply current (typ) (µA)42000
Supply current (max) (µA)52000
Deterministic jitter (typ) (ps)3
Operating temperature range (°C)-40 to 100
VQFN (RGT)169 mm² 3 x 3
产品购买
  • 商品型号
  • 封装
  • 工作温度
  • 包装
  • 价格
  • 现货库存
  • 操作
10s
温馨提示:
订单商品问题请移至我的售后服务提交售后申请,其他需投诉问题可移至我的投诉提交,我们将在第一时间给您答复
返回顶部