h1_key

TI(德州仪器) TCA9517
德州仪器 (TI) 全系列产品在线购买
  • TI(德州仪器) TCA9517
  • TI(德州仪器) TCA9517
  • TI(德州仪器) TCA9517
  • TI(德州仪器) TCA9517
  • TI(德州仪器) TCA9517
  • TI(德州仪器) TCA9517
立即查看
您当前的位置: 首页 > 接口 > I2C IC > I2C 电平转换器、缓冲器和集线器 > TCA9517
TCA9517

TCA9517

正在供货

具有断电高阻抗的 2 位电平转换 400kHz I2C/SMBus 缓冲器/中继器

产品详情
  • 说明
  • 特性
  • 参数
  • 封装 | 引脚 | 尺寸

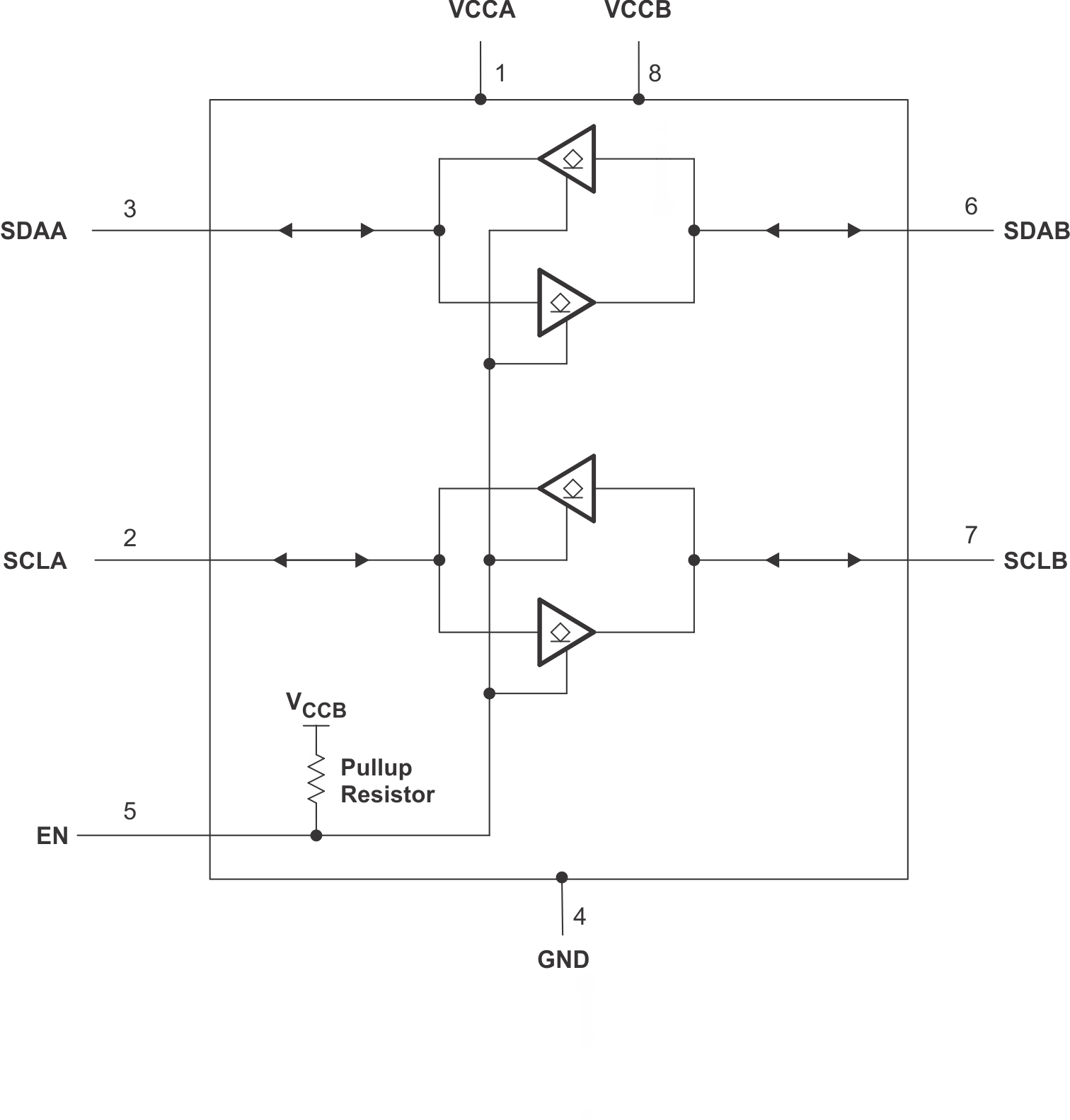
TCA9517 是一款具有电平转换功能的双向缓冲器,适用于 I2C 和 SMBus 系统。此器件可在混合模式应用中提供低电压(低至 0.9V)和较高电压(2.7V 至 5.5V)间的双向电压电平转换(上行转换/下行转换)。 应用中的杂音问题。。该器件能够扩展 I2C 和 SMBus 系统,甚至在电平转换期间也不会影响系统性能。

TCA9517 可缓冲 I2C 总线上的串行数据 (SDA) 和串行时钟 (SCL) 信号,因此允许 I2C 应用中的两条总线连接高达 400pF 的总线电容。

TCA9517 具有两类驱动器:A 侧驱动器和 B 侧驱动器。所有输入和 I/O 均可耐受 5.5V 过压,甚至在器件断电时(VCCB 和/或 VCCA = 0V)也如此。

B 侧上的缓冲器设计类型使其无法与使用静态电压偏移的器件串联使用。这是因为这类器件并不将经缓冲的低电平信号识别为有效低电平,并且不再将其作为经缓冲的低电平进行传送。

B 侧驱动器运行电压介于 2.7V 至 5.5V 之间。针对这个内部缓冲器的输出低电平大约为 0.5V,但是当输出在内部被驱动为低电平时,输入电压必须比输出低电平低 70mV 或者更多。更高的电压低信号被称为经缓冲的低电平。当 B 侧 I/O 被内部驱动为低电平时,输入并不将此低电平识别为低电平。当输入低电平状态被释放时,这一特性防止了锁定情况的发生。

A 侧驱动器运行电压介于 0.9V 至 5.5V 之间并且能够驱动更大电流。它们不需要经缓冲的低电平特性(或者静态偏移电压)。这意味着,B 侧上的低电平信号将转换为 A 侧上接近 0V 的低电平,以适应低压逻辑的较小电压摆幅。A 侧上的输出下拉电阻会驱动一个“硬”低电平,输入电平会设置在 0.3 × VCCA 以满足低压侧电源电压低至 0.9V 的系统对于较低低电平的需求。

可将 A 侧作为公共总线,将两个或两个以上的 TCA9517 的 A 侧连接在一起,从而实现多个拓扑结构(请参阅 图 8 和 图 9)。此外,还可以将 A 侧直接连接至任意具有静态或动态偏移电压的其他缓冲器。可以将多个 TCA9517 串联在一起(相邻器件间通过 A 侧和 B 侧相连),偏移电压不会增大,只是需要考虑飞行时间延迟。由于 B 侧缓冲低电压的原因,TCA9517 不能通过 B 侧相连。B 侧不能连接配有上升时间加速器的器件。

VCCA 只能用于为 A 侧输入比较器提供 0.3 × VCCA 参考电压,或者用于电源正常状态检测电路。TCA9517 逻辑和所有 I/O 均由 VCCB 引脚供电。

当与标准 I2C 系统一同工作时,需要用上拉电阻在经缓冲的总线上提供逻辑高电平。TCA9517 具有 I2C 总线的标准漏极开路配置。这些上拉电阻器的尺寸由系统决定,然而,中继器的每一侧都必须有一个上拉电阻器。此器件专为与标准模式及快速模式 I2C 器件(而不单是 SMBus 器件)一起工作而设计。在可以接受标准模式器件和多个主控器的通用型 IC 系统中,标准模式 I2C 器件的额定值只为 3mA。在特定条件下,可以采用更高的终止电流。

  • 双通道双向缓冲器
  • 与 I2C 总线和系统管理总线 (SMBus) 兼容
  • 在 A 侧上,运行电源电压范围为 0.9V 至 5.5V
  • 在 B 侧上,运行电源电压范围为 2.7V 至 5.5V
  • 从 0.9V-5.5V 到 2.7V-5.5V 的电压电平转换
  • 针对 PCA9515B 的封装和功能替代产品
  • 高电平有效中继器启用输入
  • 漏极开路 I2C I/O
  • 5.5V 耐压 I2C 和使能输入支持混合模式信号操作
  • 适用于标准模式和快速模式 I2C 器件和多重主器件
  • 器件断电时 I2C 引脚呈高阻态
  • 锁断性能超过 100mA,符合 JESD 78 II 类规范的要求
  • 静电放电 (ESD) 保护性能超过 JESD 22 规范的要求
    • 5500V 人体放电模式 (A114-A)
    • 200V 机器放电模式 (A115-A)
    • 1000V 组件充电模式 (C101)
FeaturesBuffer, Enable pin
ProtocolsI2C
Frequency (max) (MHz)0.4
VCCA (min) (V)0.9
VCCA (max) (V)5.5
VCCB (min) (V)2.7
VCCB (max) (V)5.5
Supply restrictionsVCCA <= VCCB
RatingCatalog
Operating temperature range (°C)-40 to 85
SOIC (D)829.4 mm² 4.9 x 6
VSSOP (DGK)814.7 mm² 3 x 4.9
产品购买
  • 商品型号
  • 封装
  • 工作温度
  • 包装
  • 价格
  • 现货库存
  • 操作
10s
温馨提示:
订单商品问题请移至我的售后服务提交售后申请,其他需投诉问题可移至我的投诉提交,我们将在第一时间给您答复
返回顶部