h1_key

TI(德州仪器) DP83620
德州仪器 (TI) 全系列产品在线购买
  • TI(德州仪器) DP83620
  • TI(德州仪器) DP83620
  • TI(德州仪器) DP83620
  • TI(德州仪器) DP83620
  • TI(德州仪器) DP83620
  • TI(德州仪器) DP83620
立即查看
您当前的位置: 首页 > 接口 > 以太网 IC > 以太网 PHY > DP83620
DP83620

DP83620

正在供货

支持 JTAG 和光纤接口、具有工业级温度范围的 10/100Mbps 以太网 PHY 收发器

产品详情
  • 说明
  • 特性
  • 参数
  • 封装 | 引脚 | 尺寸

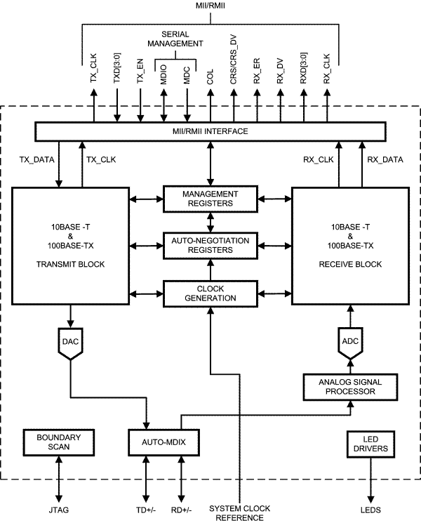
The DP83620 is a highly reliable, feature rich device suited for industrial applications. The DP83620 offers low power consumption, including several intelligent power down states. In addition to low power, the DP83620 is optimized for cable length performance far exceeding IEEE specifications. The DP83620 includes a 25MHz clock out. This allows the application to be designed with a minimum of external parts, which in turn results in the lowest possible total cost of the solution.

The DP83620 offers innovative diagnostic features unique to Texas Instruments, including dynamic monitoring of link quality during standard operation for fault prediction. These advanced features allow the system designer to implement a fault prediction mechanism to detect and warn of deteriorating and changing link conditions. This single port fast Ethernet transceiver can support both copper and fiber media. The DP838620 also provides flexibility by supporting both MII and RMII interfaces.

  • Deterministic, Low Transmit and Receive Latency
  • Selectable Frequency Synchronized Clock Output
  • Dynamic Link Quality Monitoring
  • TDR Based Cable Diagnostic and Cable Length Detection
  • 10/100 Mb/s Packet BIST (Built in Self Test)
  • Error-Free Operation up to 150 Meters CAT5 Cable
  • ESD Protection - 8 kV Human Body Model
  • 2.5 V and 3.3 V I/Os and MAC Interface
  • Auto-MDIX for 10/100 Mbps
  • Auto-Crossover in Forced Modes of Operation
  • RMII Rev. 1.2 and MII MAC Interface
  • RMII Master Mode
  • Synchronous Ethernet
  • 25 MHz MDC and MDIO Serial Management Interface
  • IEEE 802.3u 100BASE-FX Fiber Interface
  • IEEE 1149.1 JTAG
  • Programmable LED Support for Link, 10 /100 Mb/s Mode, Duplex, Activity, and Collision Detect
  • Optional 100BASE-TX Fast Link Loss Detection
  • Industrial Temperature Range
  • 48 Pin WQFN Package (7mm) x (7mm)

All trademarks are the property of their respective owners.

Datarate (Mbps)10/100
Interface typeMII, RMII
Number of portsSingle
RatingCatalog
FeaturesCable diagnostics, FX support, JTAG1149.1
Supply voltage (V)3.3
I/O supply voltage (typ) (V)2.5, 3.3
Operating temperature range (°C)-40 to 85
Number of LEDs3
ESD HBM (kV)8
WQFN (RHS)4849 mm² 7 x 7
产品购买
  • 商品型号
  • 封装
  • 工作温度
  • 包装
  • 价格
  • 现货库存
  • 操作
10s
温馨提示:
订单商品问题请移至我的售后服务提交售后申请,其他需投诉问题可移至我的投诉提交,我们将在第一时间给您答复
返回顶部