h1_key

TI(德州仪器) DS92LV2411
德州仪器 (TI) 全系列产品在线购买
  • TI(德州仪器) DS92LV2411
  • TI(德州仪器) DS92LV2411
  • TI(德州仪器) DS92LV2411
  • TI(德州仪器) DS92LV2411
  • TI(德州仪器) DS92LV2411
  • TI(德州仪器) DS92LV2411
立即查看
您当前的位置: 首页 > 接口 > 其他接口 > DS92LV2411
DS92LV2411

DS92LV2411

正在供货

5MHz 至 50MHz 24 位 Channel Link II 串行器

产品详情
  • 说明
  • 特性
  • 参数
  • 封装 | 引脚 | 尺寸

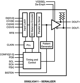
The DS92LV2411 (Serializer) and DS92LV2412 (Deserializer) chipset translates a parallel 24–bit LVCMOS data interface into a single high-speed CML serial interface with embedded clock information. This single serial stream eliminates skew issues between clock and data, reduces connector size and interconnect cost for transferring a 24-bit, or less, bus over FR-4 printed circuit board backplanes, differential or coax cables.

In addition to the 24-bit data bus interface, the DS92LV2411/12 also features a 3-bit control bus for slow speed signals. This allows implementing video and display applications with up to 24–bits per pixel (RGB888).

Programmable transmit de-emphasis, receive equalization, on-chip scrambling and DC balancing enables long distance transmission over lossy cables and backplanes. The DS92LV2412 automatically locks to incoming data without an external reference clock or special sync patterns, providing easy “plug-and-go” or “hot plug” operation. EMI is minimized by the use of low voltage differential signaling, receiver drive strength control, and spread spectrum clocking capability.

The DS92LV2411/12 chipset is programmable though an I2C interface as well as through Pins. A built-in AT-SPEED BIST feature validates link integrity and may be used for system diagnostics.

The DS92LV2411 is offered in a 48-Pin WQFN and the DS92LV2412 is offered in a 60-Pin WQFN package. Both devices operate over the full industrial temperature range of –40°C to +85°C.

  • 24-Bit Data, 3–Bit Control, 5 to 50 MHz Clock
  • Application Payloads up to 1.2 Gbps
  • AC Coupled Interconnects: STP up to 10 m or
    Coax 20+m
  • 1.8 V or 3.3 V Compatible LVCMOS I/O Interface
  • Integrated Terminations on Ser and Des
  • AT-SPEED BIST Mode and Reporting Pin
  • Configurable by Pins or I2C Compatible Serial
    Control Bus
  • Power Down Mode Minimizes Power Dissipation
  • >8 kV HBM ESD Rating
  • SERIALIZER — DS92LV2411
    • Supports Spread Spectrum Clocking (SSC) on
      Inputs
    • Data Scrambler for Reduced EMI
    • DC-Balance Encoder for AC Coupling
    • Selectable Output VOD and Adjustable
      De-emphasis
  • DESERIALIZER — DS92LV2412
    • Random Data Lock; no Reference Clock
      Required
    • Adjustable Input Receiver Equalization
    • LOCK (Real Time Link Status) Reporting Pin
    • Selectable Spread Spectrum Clock Generation
      (SSCG) and Output Slew Rate Control (OS) to
      Reduce EMI
ProtocolsCatalog
RatingCatalog
Operating temperature range (°C)-40 to 85
WQFN (RHS)4849 mm² 7 x 7
产品购买
  • 商品型号
  • 封装
  • 工作温度
  • 包装
  • 价格
  • 现货库存
  • 操作
10s
温馨提示:
订单商品问题请移至我的售后服务提交售后申请,其他需投诉问题可移至我的投诉提交,我们将在第一时间给您答复
返回顶部