h1_key

TI(德州仪器) ONET8501PB
德州仪器 (TI) 全系列产品在线购买
  • TI(德州仪器) ONET8501PB
  • TI(德州仪器) ONET8501PB
  • TI(德州仪器) ONET8501PB
  • TI(德州仪器) ONET8501PB
  • TI(德州仪器) ONET8501PB
  • TI(德州仪器) ONET8501PB
立即查看
您当前的位置: 首页 > 接口 > 光纤网络 IC > ONET8501PB
ONET8501PB

ONET8501PB

正在供货

11.3Gbps 速率可选限幅放大器

产品详情
  • 说明
  • 特性
  • 参数
  • 封装 | 引脚 | 尺寸

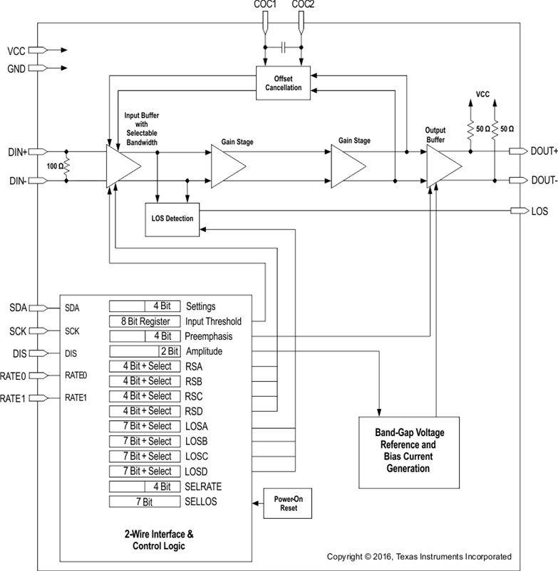
The ONET8501PB device is a high-speed, 3.3-V limiting amplifier for multiple fiber optic and copper cable applications with data rates from 2 Gbps up to 11.3 Gbps.

The device provides a two-wire serial interface which allows digital control of the bandwidth, output amplitude, output preemphasis, input threshold voltage (slice level), and the loss of signal assert level. Predetermined settings for bandwidth and LOS assert levels can also be selected with external rate selection pins.

The ONET8501PB provides a gain of about 34 dB which ensures a fully differential output swing for input signals as low as 20 mVpp. The output amplitude can be adjusted to 350 mVpp, 650 mVpp, or 850 mVpp. To compensate for frequency-dependent loss of microstrips or striplines connected to the output of the device, programmable preemphasis is included in the output stage. A settable loss of signal detection and output disable are also provided.

The device, available in RoHS compliant small footprint 3-mm × 3-mm, 16-pin VQFN package, typically dissipates less than 170 mW and is characterized for operation from &3150;40°C to 100°C.

  • Up to 11.3-Gbps Operation
  • 2-Wire Digital Interface
  • Digitally Selectable Input Bandwidth
  • Adjustable LOS Threshold
  • Digitally Selectable Output Voltage
  • Digitally Selectable Output Preemphasis
  • Adjustable Input Threshold Voltage
  • Low Power Consumption
  • Input Offset Cancellation
  • CML Data Outputs With On-Chip 50-Ω Back-
    Termination to VCC
  • Single 3.3-V Supply
  • Output Disable
  • Surface Mount Small Footprint 3-mm × 3-mm,
    16-Pin, RoHS compliant VQFN Package
TypeLimiting amplifier
Data rate (max) (Mbps)11300
FeaturesBandwidth select
Supply current (typ) (µA)50000
Supply current (max) (µA)63000
Deterministic jitter (typ) (ps)3
Operating temperature range (°C)-40 to 100
VQFN (RGT)169 mm² 3 x 3
产品购买
  • 商品型号
  • 封装
  • 工作温度
  • 包装
  • 价格
  • 现货库存
  • 操作
10s
温馨提示:
订单商品问题请移至我的售后服务提交售后申请,其他需投诉问题可移至我的投诉提交,我们将在第一时间给您答复
返回顶部