h1_key

TI(德州仪器) DS90C124-Q1
德州仪器 (TI) 全系列产品在线购买
  • TI(德州仪器) DS90C124-Q1
  • TI(德州仪器) DS90C124-Q1
  • TI(德州仪器) DS90C124-Q1
  • TI(德州仪器) DS90C124-Q1
  • TI(德州仪器) DS90C124-Q1
  • TI(德州仪器) DS90C124-Q1
立即查看
您当前的位置: 首页 > 接口 > 高速串行器/解串器 > FPD-Link 串行器/解串器 > DS90C124-Q1
DS90C124-Q1

DS90C124-Q1

正在供货

5MHz 至 35MHz 直流平衡 24 位汽车类 FPD-Link II 解串器

产品详情
  • 说明
  • 特性
  • 参数
  • 封装 | 引脚 | 尺寸

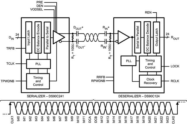
The DS90C241 and DS90C124 chipset translates a 24-bit parallel bus into a fully transparent data and control LVDS serial stream with embedded clock information. This single serial stream simplifies transferring a 24-bit bus over PCB traces or over cable by eliminating the skew problems between parallel data and clock paths. It saves system cost by narrowing data paths, which in turn reduces PCB layers, cable width, and connector size and pins.

The DS90C241 and DS90C124 incorporate LVDS signaling on the high-speed I/O. LVDS provides a low-power and low-noise environment for reliably transferring data over a serial transmission path. By optimizing the serializer output edge rate for the operating frequency range, EMI is further reduced.

In addition, the device features pre-emphasis to boost signals over longer distances using lossy cables. Internal DC balanced encoding and decoding supports AC-coupled interconnects.

  • 5-MHz to 35-MHz Clock Embedded and DC-Balancing 24:1 and 1:24 Data Transmissions
  • User Defined Pre-Emphasis Driving Ability Through External Resistor on LVDS Outputs and Capable to Drive Up to 10-Meter Shielded Twisted-Pair Cable
  • User-Selectable Clock Edge for Parallel Data on Both Transmitter and Receiver
  • Internal DC Balancing Encode and Decode (Supports AC-Coupling Interface With No External Coding Required)
  • Individual Power-Down Controls for Both Transmitter and Receiver
  • Embedded Clock CDR (Clock and Data Recovery) on Receiver and No External Source of Reference Clock Required
  • All Codes RDL (Random Data Lock) to Support Live-Pluggable Applications
  • LOCK Output Flag to Ensure Data Integrity at Receiver Side
  • Balanced TSETUP and THOLD Between RCLK and RDATA on Receiver Side
  • PTO (Progressive Turnon) LVCMOS Outputs to Reduce EMI and Minimize SSO Effects
  • All LVCMOS Inputs and Control Pins Have Internal Pulldown
  • On-Chip Filters for PLLs on Transmitter and Receiver
  • Temperature Range: –40°C to 105°C
  • Greater Than 8-kV HBM ESD Tolerant
  • Meets AEC-Q100 Compliance
  • Power Supply Range: 3.3 V ± 10%
  • 48-Pin TQFP Package
FunctionDeserializer
Color depth (bps)18
Input compatibilityFPD-Link LVDS
Output compatibilityLVCMOS
FeaturesCapable to Drive up to 5 meters STP Cable
DiagnosticsBIST
RatingAutomotive
Operating temperature range (°C)-40 to 105
TQFP (PFB)4881 mm² 9 x 9
产品购买
  • 商品型号
  • 封装
  • 工作温度
  • 包装
  • 价格
  • 现货库存
  • 操作
10s
温馨提示:
订单商品问题请移至我的售后服务提交售后申请,其他需投诉问题可移至我的投诉提交,我们将在第一时间给您答复
返回顶部