h1_key

TI(德州仪器) SN65HVS880
德州仪器 (TI) 全系列产品在线购买
  • TI(德州仪器) SN65HVS880
  • TI(德州仪器) SN65HVS880
  • TI(德州仪器) SN65HVS880
  • TI(德州仪器) SN65HVS880
  • TI(德州仪器) SN65HVS880
  • TI(德州仪器) SN65HVS880
立即查看
您当前的位置: 首页 > 接口 > 多开关检测接口 (MSDI) IC > SN65HVS880
SN65HVS880

SN65HVS880

正在供货

适用于 5V 系统的 30V、8 通道数字输入串行器

产品详情
  • 说明
  • 特性
  • 参数
  • 封装 | 引脚 | 尺寸

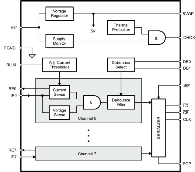
The SN65HVS880 is a 24-V, eight-channel, digital-input serializer for high-channel density digital input modules of PC and PLC based systems in industrial automation. In combination with galvanic isolators the device completes the interface between the 24-V sensor outputs of the field-side and the low-voltage controller inputs at the control-side. Input signals provided by EN60947-5-2 compliant 2- and 3-wire proximity switches are current-limited and then validated by internal debounce filters. The input switching characteristic is in accordance with IEC61131-2 for Type 1, 2, and 3 sensor switches.

Upon the application of load and clock signals, input data is latched in parallel into the shift register and afterwards clocked out serially via a subsequent isolator into a serial PLC input.

Cascading of multiple SN65HVS880 is possible by connecting the serial output of the leading device with the serial input of the following device, enabling the design of high-channel count input modules. Input status is indicated via 3-mA constant current LED outputs. An external precision resistor is required to set the internal reference current. The integrated voltage regulator provides a 5-V output to supply low-power isolators. An on-chip temperature sensor together with an internal supply voltage monitor provides a chip-okay (CHOK) indication.

The SN65HVS880 comes in a 28-pin PWP PowerPAD package allowing for efficient heat dissipation. The device is specified for operation at temperatures from -40°C to 85°C.

  • Eight Sensor Inputs
    • High Input Voltage up to 30 V
    • Selectable Debounce Filters From 0 ms to 3 ms
    • Adjustable Current Limits From 0.2 mA to 5.2 mA
    • Field Inputs and Supply Lines Protected to 15-kV HBM
  • Output Drivers for External Status LEDs
  • Cascadable for More Inputs in Multiples of Eight
  • SPI-Compatible Interface
  • Regulated 5-V Output for External Digital Isolator
  • Over-Temperature and Low-Supply Voltage Indicator
  • APPLICATIONS
    • Sensor Inputs for Industrial Automation and Process Control
      • IEC61131-2 Type 1, 2, or 3 Switches
      • EN60947-5-2 Proximity Switches
    • High Channel Count Digital Input Modules for PC and PLC Systems
    • Decentralized I/O Modules

PowerPAD Is a trademark of Texas Instruments

Number of input channels8
Operating voltage (min) (V)18
Operating voltage (max) (V)34
Input/output voltage (max) (V)36
Input/output voltage (min) (V)-0.3
IO current (mA)0.2 to 5.2
Operating temperature range (°C)-40 to 85
Interface typeSPI
FeaturesOvertemperature, Voltage monitoring
DiagnosticsOvertemperature diagnostics, Voltage monitoring diagnostics
Logic voltage (min) (V)2
Logic voltage (max) (V)0.8
RatingCatalog
HTSSOP (PWP)2862.08 mm² 9.7 x 6.4
产品购买
  • 商品型号
  • 封装
  • 工作温度
  • 包装
  • 价格
  • 现货库存
  • 操作
10s
温馨提示:
订单商品问题请移至我的售后服务提交售后申请,其他需投诉问题可移至我的投诉提交,我们将在第一时间给您答复
返回顶部