h1_key

TI(德州仪器) LM8333
德州仪器 (TI) 全系列产品在线购买
  • TI(德州仪器) LM8333
  • TI(德州仪器) LM8333
  • TI(德州仪器) LM8333
  • TI(德州仪器) LM8333
  • TI(德州仪器) LM8333
  • TI(德州仪器) LM8333
立即查看
您当前的位置: 首页 > 接口 > I2C IC > I2C 通用 I/O (GPIO) > LM8333
LM8333

LM8333

正在供货

移动 I/O 配套支持 Key-Scan、I/O 扩展、PWM 和 ACCESS.bus 主机接口

产品详情
  • 说明
  • 特性
  • 参数
  • 封装 | 引脚 | 尺寸

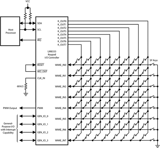
The LM8333 Mobile I/O Companion offloads the burden of keyboard scanning from the host, while providing extremely low power consumption in both operational and standby modes. It supports keypad matrices up to 8 × 8 in size (plus another 8 special-function keys), for portable applications such as cellphones, PDAs, games, and other handheld applications.

Key press and release events are encoded into a byte format and loaded into a FIFO buffer for retrieval by the host processor. An interrupt output (IRQ) is used to signal events such as keypad activity, a state change on either of two interrupt-capable general-purpose I/O pins, or an error condition. Interrupt and error codes are available to the host by reading dedicated registers.

Four general-purpose I/O pins are available, two of which have interrupt capability. A pulse-width modulated output based on a host-programmable internal timer is also available, which can be used as a general-purpose output if the PWM function is not required.

To minimize power, the LM8333 automatically enters a low-power standby mode when there is no keypad, I/O, or host activity.

The device is packaged in a 32–pin WQFN and a
49-pin csBGA. Both are chip-scale packages.

  • 8 × 8 Standard Keys
  • 8 Special Function Keys (SF Keys) Providing a Total of 72 Keys for the Maximum Keyboard Matrix
  • ACCESS.Bus (I2C-compatible) Communication Interface to the Host
  • Four General Purpose Host Programmable I/O Pins with Two Optional (Slow) External Interrupts
  • 15-byte FIFO Buffer to Store Key Pressed and Key Released Events
  • Error Control with Error Reports on (FIFO Overrun, Keypad Overrun, Invalid Command)
  • Host Programmable PWM
  • Host Programmable Active Time and Debounce Time

All trademarks are the property of their respective owners.

Number of I/Os4
Features(x1) PWM, 72-input keypad scan, Reset pin
Supply voltage (min) (V)2.25
Supply voltage (max) (V)2.9
Addresses1
RatingCatalog
Frequency (max) (MHz)0.4
Operating temperature range (°C)-40 to 85
CS-BGA (NYC)4916 mm² 4 x 4
WQFN (NJE)3236 mm² 6 x 6
产品购买
  • 商品型号
  • 封装
  • 工作温度
  • 包装
  • 价格
  • 现货库存
  • 操作
10s
温馨提示:
订单商品问题请移至我的售后服务提交售后申请,其他需投诉问题可移至我的投诉提交,我们将在第一时间给您答复
返回顶部