h1_key

TI(德州仪器) DP83640
德州仪器 (TI) 全系列产品在线购买
  • TI(德州仪器) DP83640
  • TI(德州仪器) DP83640
  • TI(德州仪器) DP83640
  • TI(德州仪器) DP83640
  • TI(德州仪器) DP83640
  • TI(德州仪器) DP83640
立即查看
您当前的位置: 首页 > 接口 > 以太网 IC > 以太网 PHY > DP83640
DP83640

DP83640

正在供货

IEEE 1588 精密时间协议 (PTP) 以太网 PHY 收发器

产品详情
  • 说明
  • 特性
  • 参数
  • 封装 | 引脚 | 尺寸

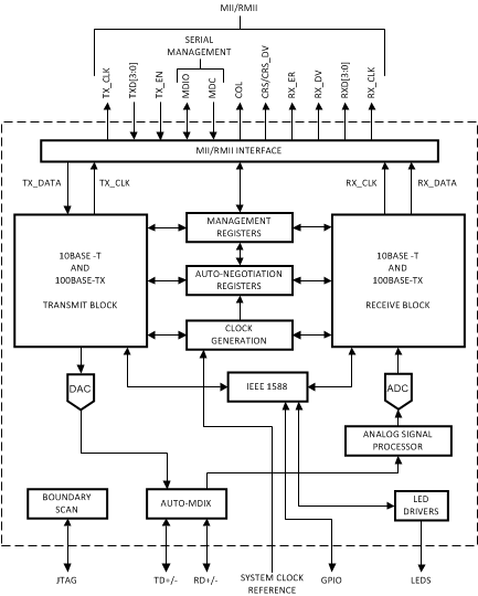
The DP83640 Precision PHYTER™ device delivers the highest level of precision clock synchronization for real time industrial connectivity based on the IEEE 1588 standard. The DP83640 has deterministic, low latency and allows choice of microcontroller with no hardware customization required. The integrated 1588 functionality allows system designers the flexibility and precision of a close to the wire timestamp. The three key 1588 features supported by the device are:

  • Packet time stamps for clock synchronization
  • Integrated IEEE 1588 synchronized clock generation
  • Synchronized event triggering and time stamping through GPIO

DP83640 offers innovative diagnostic features unique to Texas Instruments, including dynamic monitoring of link quality during standard operation for fault prediction. These advanced features allow the system designer to implement a fault prediction mechanism to detect and warn of deteriorating and changing link conditions. This single port fast Ethernet transceiver can support both copper and fiber media.

  • IEEE 1588 V1 and V2 Supported
  • UDP/IPv4, UDP/IPv6, and Layer2 Ethernet
    Packets Supported
  • IEEE 1588 Clock Synchronization
  • Timestamp Resolution of 8 ns
  • Allows Sub 10-ns Synchronization to Master
    Reference
  • 12 IEEE 1588 GPIOs for Trigger or Capture
  • Deterministic, Low Transmit and Receive Latency
  • Selectable Frequency Synchronized Clock Output
  • Dynamic Link Quality Monitoring
  • TDR Based Cable Diagnostic and Cable Length
    Detection
  • 10/100 Mb/s Packet BIST (Built-in Self Test)
  • Error-Free Operation up to 150 Meters CAT5
    Cable
  • ESD Protection – 8 kV Human Body Model
  • 2.5-V and 3.3-V I/Os and MAC Interface
  • Auto-MDIX for 10/100 Mbps
  • RMII Rev. 1.2 and MII MAC Interface
  • 25-MHz MDC and MDIO Serial Management Interface
  • IEEE 802.3 100BASE-FX Fiber Interface
  • IEEE 1149.1 JTAG
  • Programmable LED Support for Link, 10/100 Mb/s
    Mode, Duplex, Activity, and Collision Detect
  • Optional 100BASE-TX Fast Link-loss Detection
  • Industrial Temperature Range
  • 48-pin LQFP Package (7 mm × 7 mm)
Datarate (Mbps)10/100
Interface typeMII, RMII
Number of portsSingle
RatingCatalog
FeaturesCable diagnostics, FX support, IEEE 1588 PTP, JTAG1149.1
Supply voltage (V)3.3
I/O supply voltage (typ) (V)2.5, 3.3
Operating temperature range (°C)-40 to 85
Number of LEDs3
ESD HBM (kV)8
LQFP (PT)4881 mm² 9 x 9
产品购买
  • 商品型号
  • 封装
  • 工作温度
  • 包装
  • 价格
  • 现货库存
  • 操作
10s
温馨提示:
订单商品问题请移至我的售后服务提交售后申请,其他需投诉问题可移至我的投诉提交,我们将在第一时间给您答复
返回顶部