h1_key

TI(德州仪器) DP83848K
德州仪器 (TI) 全系列产品在线购买
  • TI(德州仪器) DP83848K
  • TI(德州仪器) DP83848K
  • TI(德州仪器) DP83848K
  • TI(德州仪器) DP83848K
  • TI(德州仪器) DP83848K
  • TI(德州仪器) DP83848K
立即查看
您当前的位置: 首页 > 接口 > 以太网 IC > 以太网 PHY > DP83848K
DP83848K

DP83848K

正在供货

采用 40 引脚 QFN 封装且具有工业级温度范围的 10/100Mbps 以太网 PHY 收发器

产品详情
  • 说明
  • 特性
  • 参数
  • 封装 | 引脚 | 尺寸

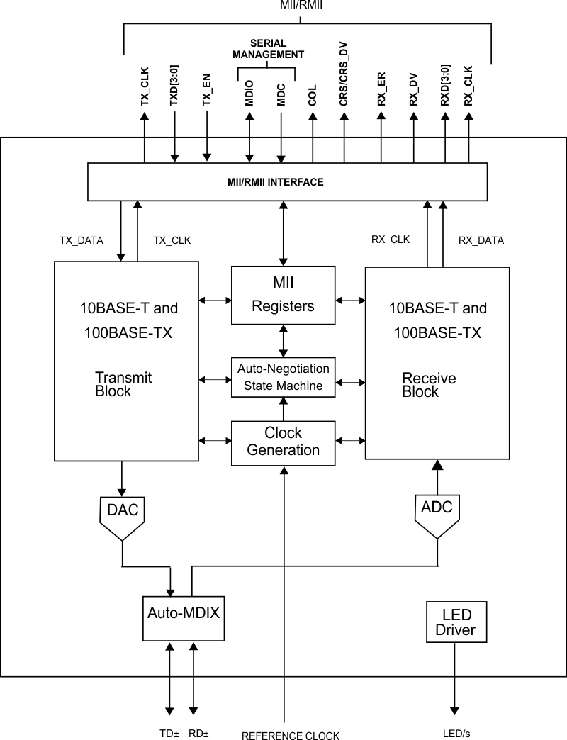
The DP83848x device addresses the quality, reliability and small form factor required for space sensitive applications in embedded systems.

The DP83848x offers performance far exceeding the IEEE specifications, with superior interoperability and industry leading performance beyond 137 meters of Cat-V cable. The DP83848x also offers Auto-MDIX to remove cabling complications. DP83848x has superior ESD protection, greater than 4 kV Human Body Model, providing extremely high reliability and robust operation, ensuring a high-level performance in all applications.

DP83848J/K offers two flexible LED indicators one for Link and the other for Speed. In addition, both MII and RMII are supported ensuring ease and flexibility of design.

The DP83848H/M/T incorporates a 25-MHz clock out that eliminates the need and hence the space and cost, of an additional clock source component.

The DP83848x is offered in small 6-mm × 6-mm WQFN 40-pin package and is ideal for industrial controls, building/factory automation, transportation, test equipment and wire-less base stations.

  • Low-Power 3.3-V, 0.18-µm CMOS Technology
  • Auto-MDIX for 10/100 Mb/s
  • Energy Detection Mode
  • 3.3-V MAC Interface
  • RMII Rev. 1.2 Interface (configurable)
  • MII Interface
  • MII Serial Management Interface (MDC and MDIO)
  • IEEE 802.3 Auto-Negotiation and Parallel Detection
  • IEEE 802.3 ENDEC, 10BASE-T Transceivers and Filters
  • IEEE 802.3 PCS, 100BASE-TX Transceivers and Filters
  • Integrated ANSI X3.263 Compliant TP-PMD Physical Sub-Layer with Adaptive Equalization and Baseline Wander Compensation
  • Error-Free Operation Beyond 137 Meters
  • ESD Protection – Greater than 4 kV Human Body Model
  • Configurable LED for Link and Activity (DP83848J/K)
  • 25-MHz Clock Output (DP83848H/M/T)
  • Single Register Access for Complete PHY Status
  • 10/100 Mb/s Packet BIST (Built-in Self Test)
Datarate (Mbps)10/100
Interface typeMII, RMII
Number of portsSingle
RatingCatalog
FeaturesIEEE 802.3 autonegotiation, Parallel detection
Supply voltage (V)3.3
I/O supply voltage (typ) (V)3.3
Operating temperature range (°C)-40 to 85
Number of LEDs2
ESD HBM (kV)4
WQFN (RTA)4036 mm² 6 x 6
产品购买
  • 商品型号
  • 封装
  • 工作温度
  • 包装
  • 价格
  • 现货库存
  • 操作
10s
温馨提示:
订单商品问题请移至我的售后服务提交售后申请,其他需投诉问题可移至我的投诉提交,我们将在第一时间给您答复
返回顶部