h1_key

TI(德州仪器) DP83849I
德州仪器 (TI) 全系列产品在线购买
  • TI(德州仪器) DP83849I
  • TI(德州仪器) DP83849I
  • TI(德州仪器) DP83849I
  • TI(德州仪器) DP83849I
  • TI(德州仪器) DP83849I
  • TI(德州仪器) DP83849I
立即查看
您当前的位置: 首页 > 接口 > 以太网 IC > 以太网 PHY > DP83849I
DP83849I

DP83849I

正在供货

支持灵活端口开关、具有工业级温度范围的双端口 10/100Mbps 以太网 PHY 收发器

产品详情
  • 说明
  • 特性
  • 参数
  • 封装 | 引脚 | 尺寸

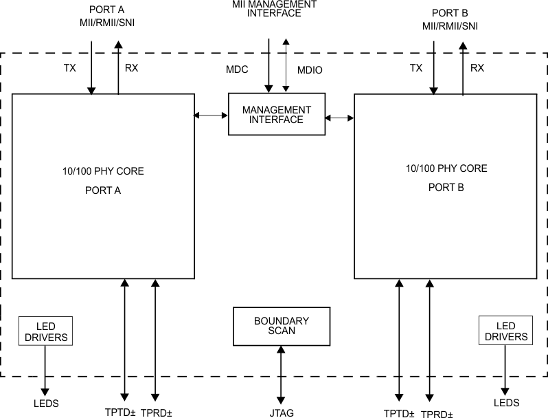
The number of applications requiring Ethernet Connectivity continues to expand. Along with this increased market demand is a change in application requirements. Where single channel Ethernet used to be sufficient, many applications such as wireless remote base stations and industrial networking now require DUAL Port functionality for redundancy or system management.

The DP83849I is a highly reliable, feature rich device perfectly suited for industrial applications enabling Ethernet on the factory floor. The DP83849I features two fully independent 10/100 ports for multi-port applications. The unique port switching capability also allows the two ports to be configured to provide fully integrated range extension, media conversion, hardware based failover and port monitoring.

The DP83849I provides optimum flexibility in MPU selection by supporting both MII and RMII interfaces. In addition this device includes a powerful new diagnostics tool to ensure initial network operation and maintenance.

In addition to the TDR scheme, commonly used for detecting faults during installation, the innovative cable diagnostics provides for real time continuous monitoring of the link quality. This allows the system designer to implement a fault prediction mechanism to detect and warn of changing or deteriorating link conditions.

The DP83849I continues to build on its Ethernet expertise and leadership position by providing a powerful combination of features and flexibility, easing Ethernet implementation for the system designer.

  • Low-power 3.3-V, 0.18-µm CMOS Technology
  • Low power Consumption <600 mW Typical
  • 3.3-V MAC Interface
  • Auto-MDIX for 10/100 Mb/s
  • Energy Detection Mode
  • Flexible MII Port Assignment
  • Dynamic Integrity Utility
  • Dynamic Link Quality Monitoring
  • TDR based Cable Diagnostic and Cable Length
    Detection
  • Optimized Latency for Real-Time Ethernet
    Operation
  • Reference Clock Out
  • RMII Rev. 1.2 Interface (Configurable)
  • SNI Interface (Configurable)
  • MII Serial Management Interface (MDC and MDIO)
  • IEEE 802.3u MII
  • IEEE 802.3u Auto-Negotiation and Parallel
    Detection
  • IEEE 802.3u ENDEC, 10BASE-T Transceivers and
    Filters
  • IEEE 802.3u PCS, 100BASE-TX Transceivers and
    Filters
  • IEEE 1149.1 JTAG
  • Integrated ANSI X3.263 Compliant TP-PMD
    Physical Sub-layer with Adaptive Equalization and
    Baseline Wander Compensation
  • Programmable LED Support for Link, 10/100 Mb/s
    Mode, Activity, Duplex and Collision Detect
  • Single Register Access for Complete PHY Status
  • 10/100 Mb/s Packet BIST (Built-In Self Test)
  • 80-pin TQFP Package (12-mm × 12-mm)
Datarate (Mbps)10/100
Interface typeMII, RMII, SNI
Number of portsDual
RatingCatalog
FeaturesCable diagnostics, Flex port, JTAG1149.1
Supply voltage (V)3.3
I/O supply voltage (typ) (V)3.3
Operating temperature range (°C)-40 to 85
Number of LEDs6
ESD HBM (kV)4
TQFP (PFC)80196 mm² 14 x 14
产品购买
  • 商品型号
  • 封装
  • 工作温度
  • 包装
  • 价格
  • 现货库存
  • 操作
10s
温馨提示:
订单商品问题请移至我的售后服务提交售后申请,其他需投诉问题可移至我的投诉提交,我们将在第一时间给您答复
返回顶部