h1_key

TI(德州仪器) DP83848C
德州仪器 (TI) 全系列产品在线购买
  • TI(德州仪器) DP83848C
  • TI(德州仪器) DP83848C
  • TI(德州仪器) DP83848C
  • TI(德州仪器) DP83848C
  • TI(德州仪器) DP83848C
  • TI(德州仪器) DP83848C
立即查看
您当前的位置: 首页 > 接口 > 以太网 IC > 以太网 PHY > DP83848C
DP83848C

DP83848C

正在供货

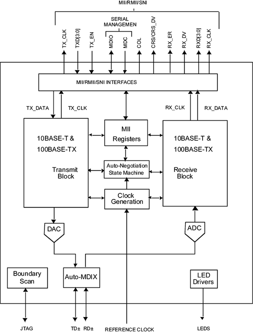
支持 SNI 接口和 JTAG、具有商业级温度范围的 10/100Mbps 以太网 PHY 收发器

产品详情
  • 说明
  • 特性
  • 参数
  • 封装 | 引脚 | 尺寸

The number of applications requiring Ethernet connectivity continues to increase, driving Ethernet enabled devices into harsher environments.

The DP83848C/I/VYB/YB was designed to meet the challenge of these new applications with an extended temperature performance that goes beyond the typical Industrial temperature range. The DP83848C/I/VYB/YB is a highly reliable, feature rich, robust device which meets IEEE 802.3 standards over multiple temperature ranges from commercial to extreme temperatures. This device is ideally suited for harsh environments such as wireless remote base stations, automotive/transportation, and industrial control applications.

It offers enhanced ESD protection and the choice of an MII or RMII interface for maximum flexibility in MPU selection; all in a 48 pin package.

The DP83848VYB extends the leadership position of the PHYTER™ family of devices with a wide operating temperature range. The TI line of PHYTER transceivers builds on decades of Ethernet expertise to offer the high performance and flexibility that allows the end user an easy implementation tailored to meet these application needs.

  • Multiple Temperature Range from –40°C to 105°C
  • Low-Power 3.3-V, 0.18-µm CMOS Technology
  • Low-Power Consumption < 270 mW Typical
  • 3.3-V MAC Interface
  • Auto-MDIX for 10/100 Mb/s
  • Energy Detection Mode
  • 25-MHz Clock Output
  • SNI Interface (Configurable)
  • RMII Rev. 1.2 Interface (Configurable)
  • MII Serial Management Interface (MDC and MDIO)
  • IEEE 802.3 MII
  • IEEE 802.3 Auto-Negotiation and Parallel
    Detection
  • IEEE 802.3 ENDEC, 10BASE-T Transceivers and
    Filters
  • IEEE 802.3 PCS, 100BASE-TX Transceivers and
    Filters
  • IEEE 1149.1 JTAG
  • Integrated ANSI X3.263 Compliant TP-PMD
    Physical Sub-Layer with Adaptive Equalization and
    Baseline Wander Compensation
  • Error-Free Operation up to 150 Meters
  • Programmable LED Support for Link, 10/100 Mb/s
    Mode, Activity, Duplex and Collision Detect
  • Single Register Access for Complete PHY Status
  • 10/100 Mb/s Packet BIST (Built in Self Test)
Datarate (Mbps)10/100
Interface typeMII, RMII, SNI
Number of portsSingle
RatingCatalog
FeaturesProgrammable LED support for link, 10/100 Mb/s mode, Activity, duplex and collision detect
Supply voltage (V)3.3
I/O supply voltage (typ) (V)3.3
Operating temperature range (°C)0 to 70
Number of LEDs3
ESD HBM (kV)4
LQFP (PT)4881 mm² 9 x 9
产品购买
  • 商品型号
  • 封装
  • 工作温度
  • 包装
  • 价格
  • 现货库存
  • 操作
10s
温馨提示:
订单商品问题请移至我的售后服务提交售后申请,其他需投诉问题可移至我的投诉提交,我们将在第一时间给您答复
返回顶部