h1_key

TI(德州仪器) DS90LV110AT
德州仪器 (TI) 全系列产品在线购买
  • TI(德州仪器) DS90LV110AT
  • TI(德州仪器) DS90LV110AT
  • TI(德州仪器) DS90LV110AT
  • TI(德州仪器) DS90LV110AT
  • TI(德州仪器) DS90LV110AT
  • TI(德州仪器) DS90LV110AT
立即查看
您当前的位置: 首页 > 接口 > LVDS、M-LVDS 和 PECL IC > DS90LV110AT
DS90LV110AT

DS90LV110AT

正在供货

具有失效防护的 1:10 LVDS 数据/时钟分配器

产品详情
  • 说明
  • 特性
  • 参数
  • 封装 | 引脚 | 尺寸

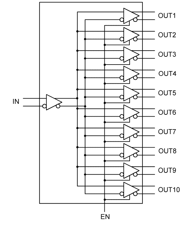
DS90LV110A is a 1 to 10 data/clock distributor utilizing LVDS (Low Voltage Differential Signaling) technology for low power, high speed operation. Data paths are fully differential from input to output for low noise generation and low pulse width distortion. The design allows connection of 1 input to all 10 outputs. LVDS I/O enable high speed data transmission for point-to-point interconnects. This device can be used as a high speed differential 1 to 10 signal distribution / fanout replacing multi-drop bus applications for higher speed links with improved signal quality. It can also be used for clock distribution up to 200MHz.

The DS90LV110A accepts LVDS signal levels, LVPECL levels directly or PECL with attenuation networks.

The LVDS outputs can be put into TRI-STATE by use of the enable pin.

For more details, please refer to the APPLICATION INFORMATION section of this datasheet.

  • Low jitter 400 Mbps fully differential data path
  • 145 ps (typ) of pk-pk jitter with PRBS = 223−1 data pattern at 400 Mbps
  • Single +3.3 V Supply
  • Balanced output impedance
  • Output channel-to-channel skew is 35ps (typ)
  • Differential output voltage (VOD) is 320mV (typ) with 100Ω termination load.
  • LVDS receiver inputs accept LVPECL signals
  • LVDS input failsafe
  • Fast propagation delay of 2.8 ns (typ)
  • Receiver open, shorted, and terminated input failsafe
  • 28 lead TSSOP package
  • Conforms to ANSI/TIA/EIA-644 LVDS standard

All trademarks are the property of their respective owners.

FunctionRepeater, Translator
ProtocolsCML, LVDS, PECL
Number of transmitters10
Number of receivers1
Supply voltage (V)3.3
Signaling rate (MBits)800
Input signalLVDS, LVPECL, PECL
Output signalLVDS
RatingCatalog
Operating temperature range (°C)-40 to 85
TSSOP (PW)2862.08 mm² 9.7 x 6.4
产品购买
  • 商品型号
  • 封装
  • 工作温度
  • 包装
  • 价格
  • 现货库存
  • 操作
10s
温馨提示:
订单商品问题请移至我的售后服务提交售后申请,其他需投诉问题可移至我的投诉提交,我们将在第一时间给您答复
返回顶部