h1_key

TI(德州仪器) THS8135
德州仪器 (TI) 全系列产品在线购买
  • TI(德州仪器) THS8135
  • TI(德州仪器) THS8135
  • TI(德州仪器) THS8135
  • TI(德州仪器) THS8135
  • TI(德州仪器) THS8135
  • TI(德州仪器) THS8135
立即查看
您当前的位置: 首页 > 接口 > HDMI、DisplayPort 和 MIPI IC > THS8135
THS8135

THS8135

正在供货

三通道 10 位 240MSPS 视频 DAC,具有兼容三电平同步和视频 (ITU-R.BT601) 的满量程范围

产品详情
  • 说明
  • 特性
  • 参数
  • 封装 | 引脚 | 尺寸

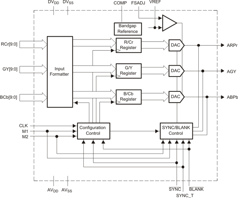
The THS8135 is a general-purpose triple high-speed D/A converter optimized for use in video/graphics applications. The device operates from 3.3-V analog and 1.8-V digital supplies. The THS8135 performance is assured at a sampling rate up to 240 MSPS. The THS8135 consists of three 10-bit D/A converters and additional circuitry for bi-level/tri-level sync and blanking level generation. By providing a dc offset for the lowest video amplitude output in video DAC mode, the device can insert a (negative) bi-level or (negative/positive) tri-level sync on either only the green/luminance (sync-on-green/sync-on-Y) channel or on all channels for video applications. A generic DAC mode avoids this dc offset, making this device suitable for non-video applications as well.

The THS8135 is a footprint-compatible functional upgrade to the THS8133. In addition, the THS8135 allows a higher update rate for oversampled video digitizing for all PC graphics formats up to UXGA (1600x1200) resolution at 85 Hz and all practical digital TV formats including HDTV. The support for oversampling significantly reduces the complexity of the analog reconstruction filter required behind the DAC.

Standard video levels can be generated for the full 10-bit input code range. Alternatively, the same levels can be reached from a reduced input code range compliant to the video sampling standard ITU-R.BT-601. In that case, the full-scale range of the DAC is dependent on the RGB or YCbCr color space configuration of the device. When configured for RGB operation, full video output swing is reached for input codes 64-940 on all channels. When configured for YCbCr operation, code range 64-940 on Y and code range 64-960 on Cb and Cr channels generate full output swing using internal amplitude scaling on these color components. The device provides headroom to accommodate under-/over-shoot outside the ITU-R.BT601 range to allow the generation of ITU-R.BT601 illegal colors or super-black / super-white levels.

A digital control input for insertion of a reference (blanking) level on the analog outputs is included. The amplitude of the blanking level is configurable for either RGB or YPbPr component outputs and for full or reduced input code ranges. The inserted sync output amplitude(s) always has the required 7:3 ratio to the full-scale video amplitude.

The current-steering DACs can be directly terminated in resistive loads to produce voltage outputs. The device provides a flexible configuration of maximum output current drive. The devices output drivers have been specifically designed to produce standard video output levels when directly connected to a single-ended double-terminated 75-Ω coaxial cable.

The input data format can be either 3x10 bit 4:4:4, 2x10 bit 4:2:2, or 1x10 bit 4:2:2. This enables a direct interface to a wide range of video DSP/ASICs including parts generating ITU-R.BT656 formatted output data. However, the THS8135 needs specific input synchronization signals to properly insert a composite sync onto its outputs as it does not extract embedded SAV/EAV synchronization codes from the ITU-R.BT656 input. Along with other extra functionality, this feature is available on a derivative device (THS8200).

  • Triple 10-Bit D/A Converters
  • 240-MSPS Operation
  • YPbPr/RGB Configurable Blanking Levels, Correctly Positioned for Either Full (0-1023) or Video (ITU-R.BT601) Compliant Input Code Ranges
  • Generic Triple DAC Mode for Non-Video Applications
  • Direct Drive of Double-Terminated 75-Ω Load Into Standard Video Levels
  • 3x10 Bit 4:4:4, 2x10 Bit 4:2:2 or 1x10 Bit 4:2:2 (ITU-R.BT656) Multiplexed YCbCr/GBR Input Data Formats
  • Bi-Level (EIA) or Tri-Level (SMPTE) Sync Generation
  • Integrated Sync-On-Green/Luminance or Sync-On-All Composite Sync Insertion
  • Internal Voltage Reference
  • Low-Power Operation From 3.3-V Analog and 1.8-V Digital Suply Levels
RatingCatalog
Operating temperature range (°C)0 to 70
HTQFP (PHP)4881 mm² 9 x 9
产品购买
  • 商品型号
  • 封装
  • 工作温度
  • 包装
  • 价格
  • 现货库存
  • 操作
10s
温馨提示:
订单商品问题请移至我的售后服务提交售后申请,其他需投诉问题可移至我的投诉提交,我们将在第一时间给您答复
返回顶部