h1_key

TI(德州仪器) TXS0108E
德州仪器 (TI) 全系列产品在线购买
  • TI(德州仪器) TXS0108E
  • TI(德州仪器) TXS0108E
  • TI(德州仪器) TXS0108E
  • TI(德州仪器) TXS0108E
  • TI(德州仪器) TXS0108E
  • TI(德州仪器) TXS0108E
立即查看
您当前的位置: 首页 > 逻辑和电压转换 > 电压转换器和电平转换器 > 自动方向电压转换器 > TXS0108E
TXS0108E

TXS0108E

正在供货

适用于漏极开路和推挽应用的 8 位双向电压电平转换器

产品详情
  • 说明
  • 特性
  • 参数
  • 封装 | 引脚 | 尺寸

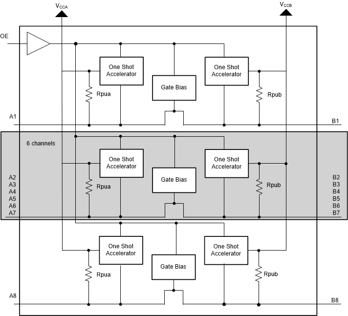
该器件是一款 8 位同相电平转换器,此转换器使用两个独立的可配置电源轨。A 端口跟踪 V CCA 引脚的电源电压。V CCA 引脚可接受 1.4V 到 3.6V 范围内的任意电源电压。B 端口跟踪 V CCB 引脚的电源电压。V CCB 引脚可接受 1.65V 到 5.5V 范围内的任意电源电压。这两个输入电源引脚可实现 1.5V、1.8V、2.5V、3.3V 和 5V 电压节点之间的任意低压双向转换。

输出使能 (OE) 输入为低电平时,所有输出均将置于高阻抗 (Hi-Z) 状态。

为确保输出在上电或断电期间处于 Hi-Z 状态,需通过一个下拉电阻将 OE 接至 GND。该电阻的最小值取决于驱动器的拉电流能力。

  • 无需方向控制信号
  • 最大数据速率
    • 110Mbps(推挽)
    • 1.2Mbps(开漏)
  • A 端口为 1.4V 至 3.6V;B 端口为 1.65V 至 5.5V (V CCA ≤ V CCB)
  • 无需电源定序 - V CCA 或 V CCB 均可优先斜升
  • 闩锁性能超过 100mA, 符合 JESD 78 II 类规范的要求
  • 静电放电 (ESD) 保护性能超过 JESD 22 规范的要求(A 端口)
    • 2000V 人体放电模型 (A114-B)
    • 150V 机器模型 (A115-A)
    • 1000V 充电器件模型 (C101)
  • IEC 61000-4-2 ESD(B 端口)
    • ±8kV 接触放电
    • ±6kV 气隙放电
Technology familyTXS
ApplicationsI2C, MDIO, SMbus
Bits (#)8
Data rate (max) (Mbps)100
High input voltage (min) (V)1
High input voltage (max) (V)5.5
Vout (min) (V)1.4
Vout (max) (V)5.5
IOH (max) (mA)0
IOL (max) (mA)0
Supply current (max) (µA)8
FeaturesEdge rate accelerator, Output enable, Vcc isolation
Input typeTransmission Gate
Output type3-State, Transmission Gate
RatingCatalog
Operating temperature range (°C)-40 to 85
NFBGA (NME)207.5 mm² 2.5 x 3
TSSOP (PW)2041.6 mm² 6.5 x 6.4
VQFN (RGY)2015.75 mm² 4.5 x 3.5
产品购买
  • 商品型号
  • 封装
  • 工作温度
  • 包装
  • 价格
  • 现货库存
  • 操作
10s
温馨提示:
订单商品问题请移至我的售后服务提交售后申请,其他需投诉问题可移至我的投诉提交,我们将在第一时间给您答复
返回顶部