h1_key

TI(德州仪器) AFE030
德州仪器 (TI) 全系列产品在线购买
  • TI(德州仪器) AFE030
  • TI(德州仪器) AFE030
  • TI(德州仪器) AFE030
  • TI(德州仪器) AFE030
  • TI(德州仪器) AFE030
  • TI(德州仪器) AFE030
立即查看
您当前的位置: 首页 > 放大器 > 运算放大器 (op amps) > 功率运算放大器 > AFE030
AFE030

AFE030

正在供货

适用于驱动低阻抗线路的 1000mA、集成电力线通信 (PLC) 模拟前端

产品详情
  • 说明
  • 特性
  • 参数
  • 封装 | 引脚 | 尺寸

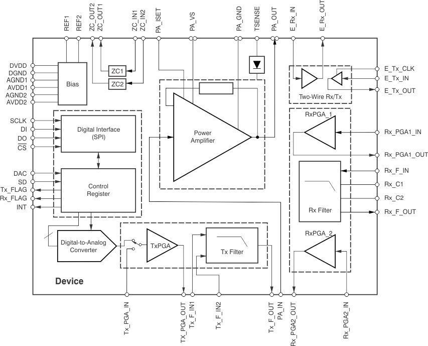
AFE030 是一款低成本、集成式电力线通信 (PLC) 模拟前端 (AFE) 器件,能够在数字信号处理器 (DSP) 或微控制器的控制下,以容性或变压器耦合方式连接至电力线。该器件非常适合于驱动需要为无功负载提供高达 1A 电流的低阻抗线路。该集成式接收器能够检测低至 20µVRMS 的信号,并且支持各种增益选项以适应不同的输入信号条件。此单片集成电路可为要求严苛的电力线通信 应用提供高可靠性。

AFE030 发射功率放大器可由 7V 至 26V 电压范围的单电源供电。在最大输出电流情况下,宽输出摆幅可通过标称 15V 的电源提供 12VPP (IOUT = 1A) 能力。该模拟和数字信号处理电路由 3.3V 单电源供电。

AFE030在过热和短路情况下收到内部保护。它还提供一个可调节电流限值。提供一个中断输出用于标示电流限值和热界限。还有一个关断引脚,此引脚用于快速将此器件置于最低功率的状态下。通过此四线制串行外设接口,或者 SPI™,每一个功能块可以开启或者关闭以优化功率耗散。

AFE030采用耐热增强型,表面贴装PowerPAD封装方式(QFN-48)。额定工作拓展工业结温范围为–40°C至+125°C。

  • 具有热保护和过流保护的集成式电力线驱动器
  • 符合 EN50065-1 标准
  • 与 AFE031 之间具有引脚兼容性
  • 大输出摆幅:1A 电流时为 13VPP
    (电源电压为 15V)
  • 低功耗:15mW
    (接收模式)
  • 可编程 Tx 和 Rx 滤波器
  • 支持 EN50065 CENELEC 频带 A、B、C、D
  • 支持OFDM,FSK,和S-FSK
  • 支持IEC61334
  • 接收灵敏度:20µVRMS,典型值
  • 可编程 Tx/Rx 增益控制
  • 四线串行外设接口
  • 两个集成式过零检测器
  • 双线收发器缓冲器
  • 封装方式:48 引脚四方扁平无引线 (QFN) PowerPAD™
  • 扩展结温范围:
    –40°C 至 +125°C
Number of channels1
Total supply voltage (+5 V = 5, ±5 V = 10) (min) (V)7
Total supply voltage (+5 V = 5, ±5 V = 10) (max) (V)26
Iout (typ) (A)1
GBW (typ) (MHz)0.67
Slew rate (typ) (V/µs)19
Iq per channel (typ) (mA)40
FeaturesAdj Current Limit, Shutdown
RatingCatalog
Operating temperature range (°C)-40 to 125
Rail-to-railNo
ArchitectureFET
VQFN (RGZ)4849 mm² 7 x 7
产品购买
  • 商品型号
  • 封装
  • 工作温度
  • 包装
  • 价格
  • 现货库存
  • 操作
10s
温馨提示:
订单商品问题请移至我的售后服务提交售后申请,其他需投诉问题可移至我的投诉提交,我们将在第一时间给您答复
返回顶部