h1_key

TI(德州仪器) SN54ACT244
德州仪器 (TI) 全系列产品在线购买
  • TI(德州仪器) SN54ACT244
  • TI(德州仪器) SN54ACT244
  • TI(德州仪器) SN54ACT244
  • TI(德州仪器) SN54ACT244
  • TI(德州仪器) SN54ACT244
  • TI(德州仪器) SN54ACT244
立即查看
您当前的位置: 首页 > 逻辑和电压转换 > 缓冲器、驱动器和收发器 > 同相缓冲器和驱动器 > SN54ACT244
SN54ACT244

SN54ACT244

正在供货

具有 TTL 兼容型 CMOS 输入和三态输出的军用 8 通道 4.5V 至 5.5V 缓冲器

产品详情
  • 说明
  • 特性
  • 参数
  • 封装 | 引脚 | 尺寸

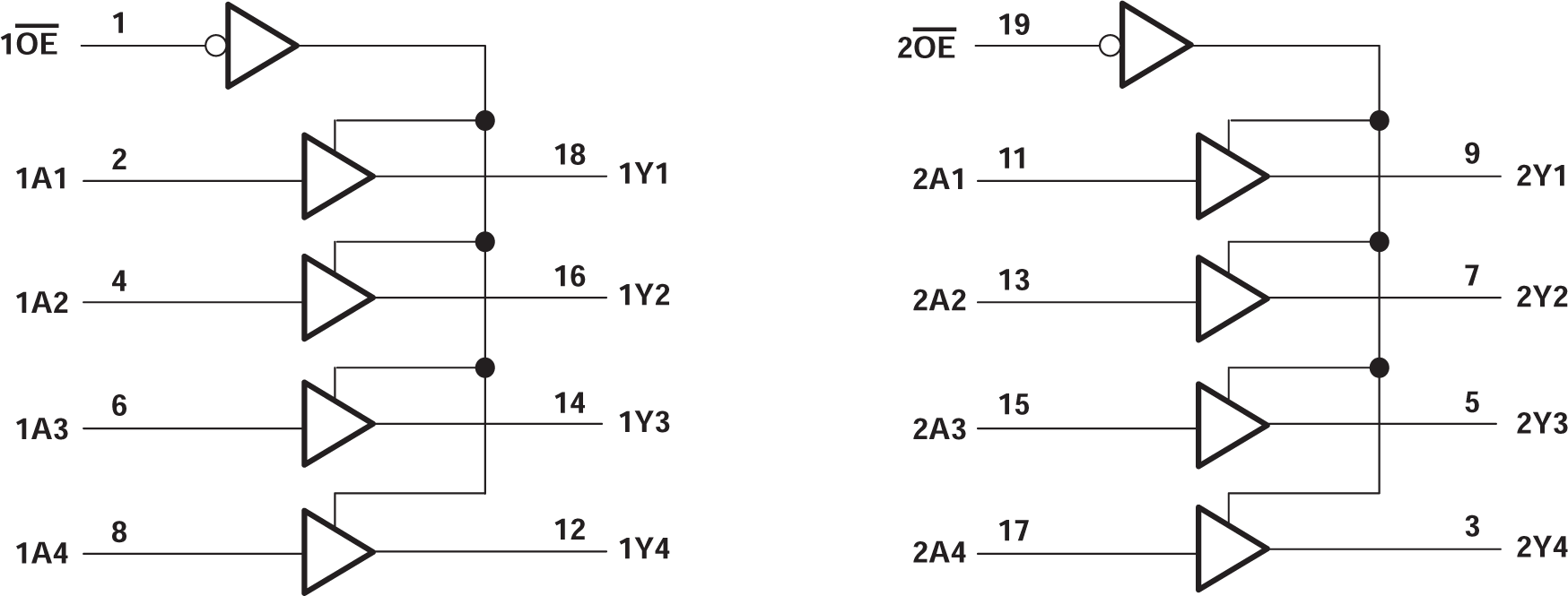
这些 SNx4ACT244 八通道缓冲器和驱动器专门设计用于提高三态存储器地址驱动器、时钟驱动器以及总线导向接收器和发送器的性能和密度。

SNx4ACT244 器件配置为两个具有独立输出使能 ( OE) 输入的 4 位缓冲器和驱动器。当 OE 为低电平时,该器件将来自 A 输入的同相数据传输到 Y 输出。当 OE 为高电平时,输出处于高阻态。

  • 4.5V 至 5.5V V CC 运行
  • 输入电压高达 5.5V
  • 5V 时 t pd 最大值为 9.5ns
  • 输入与 TTL 兼容
  • 对于符合 MIL-PRF-38535 标准的产品, 所有参数均经过测试,除非另外注明。对于所有其他产品,生产流程不一定包含对所有参数的测试。
Technology familyACT
Supply voltage (min) (V)4.5
Supply voltage (max) (V)5.5
Number of channels8
IOL (max) (mA)24
Supply current (max) (µA)40
IOH (max) (mA)-24
Input typeTTL-Compatible CMOS
Output type3-State
FeaturesBalanced outputs, Very high speed (tpd 5-10ns)
RatingMilitary
Operating temperature range (°C)-55 to 125
CDIP (J)20167.464 mm² 24.2 x 6.92
CFP (W)2090.5828 mm² 13.09 x 6.92
LCCC (FK)2079.0321 mm² 8.89 x 8.89
产品购买
  • 商品型号
  • 封装
  • 工作温度
  • 包装
  • 价格
  • 现货库存
  • 操作

很抱歉,暂时无法提供与“SN54ACT244”系列相匹配的产品,您可以联系专属客服快速找货或在现货搜索框中重新搜索。

10s
温馨提示:
订单商品问题请移至我的售后服务提交售后申请,其他需投诉问题可移至我的投诉提交,我们将在第一时间给您答复
返回顶部