h1_key

TI(德州仪器) LMP8278Q-Q1
德州仪器 (TI) 全系列产品在线购买
  • TI(德州仪器) LMP8278Q-Q1
  • TI(德州仪器) LMP8278Q-Q1
  • TI(德州仪器) LMP8278Q-Q1
  • TI(德州仪器) LMP8278Q-Q1
  • TI(德州仪器) LMP8278Q-Q1
  • TI(德州仪器) LMP8278Q-Q1
立即查看
您当前的位置: 首页 > 放大器 > 电流检测放大器 > 模拟电流检测放大器 > LMP8278Q-Q1
LMP8278Q-Q1

LMP8278Q-Q1

正在供货

具有直列式滤波器功能的 AEC-Q100、-2V 至 40V、分级电流感应放大器

产品详情
  • 说明
  • 特性
  • 参数
  • 封装 | 引脚 | 尺寸

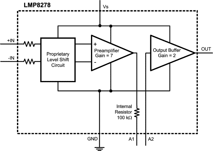
The LMP8278 is a fixed 14x gain precision current sense amplifier. The part amplifies and filters small differential signals in the presence of high common mode voltages. The part operates from a single 5V supply voltage. With an input common mode voltage range from -2V to +28V the gain is very precise (±0.5%). The part can handle common mode voltages in the range -2V to +40V with relaxed specifications. The LMP8278 is a member of the Linear Monolithic Precision (LMP) family and is ideal for unidirectional current sensing applications. The parameter values that are shown in the Electrical Characteristics table are 100% tested and all bold values are also 100% tested over temperature, unless otherwise noted.

The part has a precise gain of 14x which is adequate in most targeted applications to drive an ADC to its full scale value. The fixed gain is achieved in two separate stages, a preamplifier with a gain of 7x and an output stage buffer amplifier with a gain of 2x. The connection between the two stages of the signal path is brought out on two pins to enable the possibility to create an additional filter network around the output buffer amplifier. These pins can also be used for alternative configurations with different gain as described in .

The LMP8278Q incorporates enhanced manufacturing and support processes for the automotive market, including defect detection methodologies. Reliability qualification is compliant with the requirements and temperature grades defined in the AEC Q100 standard.

  • TCVos ±15μV/°C Max
  • CMRR 80 dB Min
  • Input Offset Voltage ±2 mV max
  • CMVR −2V to 40V
  • Operating Ambient Temperature Range −40°C to 125°C
  • Single Supply Operation
  • Min / Max Limits 100% Tested unless Otherwise Noted
  • LMP8278Q Available in Automotive AEC-Q100 Grade 1 Qualified Version

All trademarks are the property of their respective owners.

Product typeAnalog output
Common-mode voltage (max) (V)40
Common-mode voltage (min) (V)-2
Input offset (±) (max) (µV)2000
Input offset drift (±) (typ) (µV/°C)2.5
Voltage gain (V/V)14
CMRR (min) (dB)80
Bandwidth (kHz)90
Supply voltage (max) (V)5.5
Supply voltage (min) (V)4.5
Iq (max) (mA)0.55
Number of channels1
Comparators (#)0
Gain error (%)1
Gain error drift (±) (max) (ppm/°C)25
Slew rate (V/µs)0.7
FeaturesLow-side Capable
RatingAutomotive
Operating temperature range (°C)-40 to 125
VSSOP (DGK)814.7 mm² 3 x 4.9
产品购买
  • 商品型号
  • 封装
  • 工作温度
  • 包装
  • 价格
  • 现货库存
  • 操作
10s
温馨提示:
订单商品问题请移至我的售后服务提交售后申请,其他需投诉问题可移至我的投诉提交,我们将在第一时间给您答复
返回顶部